|
1. Einleitung
1.1. Danksagung
Mein Dank gilt vor allem Herrn Prof. Dr. G. Kleinschmidt für die Aufgabenstellung und Betreuung dieser Arbeit, außerdem für die wertvollen Anregungen und die Exkursion.
Auch in großem Maße möchte ich mich bei Herrn Dr. K.-P. Winter für die Zweitbetreuung mit wertvollen Anregungen und die Exkursion bedanken.
Für die finanzielle Unterstützung danke ich meinen Eltern sehr herzlich.
Des weiteren geht mein aufrichtiger Dank an folgende Mitarbeiter und Angehörige des Geologisch-Paläontologischen Instituts in Frankfurt/M:
Herrn E. Gottwald für die freundliche Hilfe bei den Laborarbeiten;
Herrn Dipl. Geol. A. Mann und Herrn Dipl. Geol. D. Scheuvens für fachkundige Ratschläge und Hilfestellungen;
Herrn Dr. R. Petschik für die Röntgendiffraktionsanalysen und die fachkundige Hilfe,
Herrn Dr. P. Zügel für die Beratung in paläontologischen Fragen sowie
Herrn B. Kahl für die Einweisung im Fotolabor.
Für die freundliche Unterstützung bei meinen Arbeiten bin ich außerdem sehr verbunden:
Herrn Forstoberamtsrat Brückner für die Erlaubnis zum zeitweiligen Befahren der Waldwege; Herrn Reichle vom Kreisausschuß des Rheingau-Taunus-Kreis für Informationen über eine Deponie im Kartiergebiet und den Bediensteten des Bergamts in Weilburg für Informationen zum bergmännischen Geschehen im Untersuchungsgebiet.
Das Interesse vieler Kommolitoninnen und Kommolitonen hat die Durchführung der Diplomarbeit erleichtert und bereichert, wofür ich hiermit auch meinen Dank ausspreche.
1.2. Allgemeiner Überblick
Die vorliegende geologische Arbeit befaßt sich mit einem Ausschnitt des Taunus. Der Taunus ist der südöstlichste Teil des Rheinischen Schiefergebirges und liegt in etwa zwischen Koblenz, Gießen, Frankfurt und Wiesbaden (Abb. 1 und 2). Marine Flachseesedimente prägen hier das Unterdevon des Rheinischen Schiefergebirges. Durch variszische Deformation entstand überwiegend NW- bis NNW-vergenter Faltenbau. Gravitative Kräfte ließen weitere tektonische Strukturen entstehen. Tertiäre Bruchtektonik schuf Horste und Gräben.
 Abb. 1. Das Rheinische Schiefergebirge mit seinen größten Mittelgebirgen, Flüssen und Städten.
1.3. Aufgabenstellung
Neben der Diplom-Kartierung, der Erstellung einer geologischen Karte und den Erläuterungen zu dieser geologischen Karte sollen in dieser Arbeit Knickbänder und die Voraussetzungen für deren Anlage in einem speziellen Kapitel behandelt werden. Ausmaß, Geometrie, Charakter, räumliche Lage und eventuell bevorzugte Orientierungen werden untersucht. Volumenverhalten des Gesteins, der Strain, die daraus resultierende Höhenänderung bzw. -reduzierung des Gebirges sowie relatives Entstehungsalter der Knickbänder sind ebenfalls Gegenstand der Arbeit.
1.4. Arbeitsweise
Bei der Kartierung wurde versucht möglichst unverwittertes Material zu betrachten. Mit der visuellen Aufnahme im Gelände erfolgte die Benennung des Materials. Am frisch angeschlagenen Gestein fand zur groben Unterscheidung zwischen Silt- und Sandstein eine "Knirschprobe" mit den Zähnen statt.
Der im Aufschlußbereich abgeschätzte Hauptbestandteil war bezeichnend. Schwierigkeiten ergaben sich darin, daß das Gestein oft einen raschen Wechsel der Korngrößen aufweist. Die Korngrößen wurden nach der DIN 4022 benannt und zur Beschreibung der Gesteinsfarben diente die Rock-Color Chart von MUNSELL (1991). Den näher betrachteten Lokalitäten werden im folgenden die Gauß-Krüger-Koordinaten mit Rechts- (R) und Hochwerten (H) hinzugefügt.
Aufschlüsse, in welchen das Gestein als fest anstehend beurteilt wurde, dienten zur tektonischen Aufnahme, d.h. alle erkennbaren Strukturen wurden eingemessen. Die räumliche Orientierung der verschiedenen Strukturen sind auf einer tektonischen Karte dargestellt (Anlage 2). Außerhalb des Kartiergebietes untersuchte Knickbänder sind vereinzelt in Abbildungen dargestellt und ebenso mit Hoch- und Rechtswerten versehen.
Schwierigkeiten beim Abschlagen von Handstücken mit Knickbändern aus dem Gesteinsverband ergaben sich darin, daß bei Belastung durch Hammer oder Hebel der Zusammenhalt an den Knickflächen verlorenging und die Proben somit für Laborarbeiten unbrauchbar wurden. An bestimmten Lokalitäten wurde auf das Abschlagen von Gesteinsstücken verzichtet, da dort naturdenkmalwürdige Aufschlüsse zerstört worden wären (z.B. an der Herrenmühle im Aartal oder an der Burg Idstein).
Handstücke, Anschliffe und Dünnschliffe befinden sich als Belegsammlung im Geologisch-Paläontologischen Institut der Johann Wolfgang Goethe-Universität in Frankfurt am Main.
1.5. Arbeitsmittel
Als Grundlage für die geologische Karte dienen die Topographischen Kartenvergrößerungen TKV 10 5715 Idstein NW und TKV 10 5715 Idstein SW (nach gleichnamiger TK 25). Die Nadelabweichung beträgt laut der TK lediglich ca. 0,05°. Eingemessen wurde mit dem Freiberger Gefügekompaß. Seine Geräte- und Bedienungsungenauigkeit ist vernachlässigbar, da unebene und ungerade Gefüge mehrfache Messungen verlangen und Mittelwerte entstehen.
Die stereographischen Projektionen wurden mit Hilfe des "Stereo Net Version 1.0"- Programms (Joh. P. DUYSTER, 1996) und des StereoNett Version 2.02-Programms (Joh. P. DUYSTER, 1997) erstellt, diverse Graphik- und Bildbearbeitungsprogramme halfen bei Illustrationen und Zeichnungen. In Lagenkugelprojektionen (untere Halbkugel) wurden Flächen als Polpunkte dargestellt.
2. Geographie
2.1. Geographische Lage
Das Rheinische Schiefergebirge bildet einen großen Teil der deutschen Mittelgebirge. Hierzu gehören unter anderem die Eifel, das Sauerland, der Westerwald, der Hunsrück und der Taunus. Letzterer bildet den südöstlichen Teil des Rheinischen Schiefergebirges.
Beschrieben wird ein Gebiet im Taunus, wenige Kilometer nordwestlich von Idstein, direkt westlich der Idsteiner Senke, welche als tektonische Bruchstruktur den Gebirgsteil in Westtaunus und Osttaunus teilt.
Bearbeitet wird der Distrikt Langheck und ein Teil des sich östlich anschließenden Distrikts Nack, westlich der Bundesautobahn A3 zwischen den Anschlußstellen Idstein und Bad Camberg (siehe auch Abb. 2).
2.2. Begrenzung des Gebiets
Die Grenzen des Gebiets bilden der Wallbach im Norden und der Kesselbach im Osten und Süden mit jeweils beiden aufschlußreichen Talhängen. Die westliche Begrenzung verläuft fast gerade zwischen den Ortschaften Görsroth und Wallbach (Abb. 2).
 Abb. 2. Der Taunus mit der Idsteiner Senke (grau) und der Lage des Kartiergebiets (schraffiert).
2.3. Morphologie des Geländes und Entwässerung
Die von teilweise steilen Tälern zerfurchte Hochfläche des Westtaunus fällt insgesamt schwach nach NW ab. Sie liegt hier etwa 400 m über NN. Ein verzweigtes Bachsystem durchfließt das Gebiet. Der Kesselbach, der als Auroffer Bach 5 km südlich des Arbeitsgebiets entspringt, wird von einer bis zu 100 m breiten Talaue begleitet, welche manchmal im Bereich kleinerer Nebentaleinschnitte von Schwemmfächern überschüttet ist. Einige namenlose Bäche fließen ohne bevorzugte Himmelsrichtung in den Kesselbach und den Wallbach. Der Wallbach durchfließt die gleichnamige Ortschaft und entwässert nach E, das Wasser des Kesselbachs fließt nach N (vgl. Abb. 3). Sie vereinen sich am nordöstlichsten und gleichzeitig tiefstgelegenen Punkt des Kartiergebiets (238 m über NN) am Parkplatz "Saubrücke". Etwa einen Kilometer weiter nordöstlich mündet dieser Bach in den Wörsbach, dieser fließt der Lahn im Norden zu.
 | Abb. 3. Blockbild zur Darstellung von Taleinschnitten und Kerbtalbildung in einer verebneten Hochfläche. Die Talverläufe entsprechen denen des Arbeitsgebiets. Der Kesselbach (rechts) mündet in den Wallbach (links). Die Pfeile zeigen die Entwässerungsrichtung. (Kantenlänge NNW- SSE = 4 km.) |
3. Geologischer Überblick
3.1. Geologische Gegebenheiten
Der geologische Untergrund des Kartiergebiets beinhaltet ausschließlich klastische Ablagerungen des Unterdevon. Sie werden als Spitznack-Schichten dem Unterems zugeordnet (ANDERLE 1987: 84; 1991) und sind geprägt durch:
- Flachseesedimentation bei kontinuierlicher Absenkung;
- variszische Orogenese mit ausgeprägter Deformation;
- tertiäre Bruchtektonik und Verebnung;
- pleistozäne Talbildung.
Die devonische Meeresfauna zeigt, daß es sich bei den Sedimenten ausschließlich um marine Ablagerungen handelt. Auch fehlen Gerölle, Konglomerate und Reste von größeren Landpflanzen im Devon des Taunus (FUCHS 1978). Die großen Mächtigkeiten der Sedimente sind in Unter-, Mittel- und Oberdevon unterteilt, wobei auch die Ablagerungen des Unterdevon sehr umfangreich sind. Sie sind in drei Stufen untergliedert (Gedinne, Siegen und Ems). MEYER & STETS (1980: 732 f) beschreiben eine Flachmeer-Fazies für das Unterems, die bei stetiger Absenkung sehr große Ablagerungsmächtigkeiten hervorbringen konnte.
Relikte mesozoischer Ablagerungen sind im Taunus nicht bekannt. Es wird davon ausgegangen, daß sich in diesem Zeitraum das Gebiet über Meeresniveau befand und großzügig erodiert wurde.
3.2. Entwicklungsgeschichtlicher Überblick
3.2.1. Paläozoikum
Grundvoraussetzung für die überregionale Entwicklung war die Bildung des Rheinischen Trogs mit stetiger Absenkung und einhergehender Sedimentation.
FRANKE et al. (1978) haben die Entwicklungsgeschichte des Rhenoherzynikums in drei Hauptphasen gegliedert:
- Ablagerung klastischer Sedimente im neritischen Faziesbereich ab Unterdevon bei rascher Absenkung des Beckens. Liefergebiet ist der Old-Red-Kontinent im Nordwesten.
- Sedimentation der pelagischen Fazies im Devon bei nur noch geringer Absenkung des Beckens. Durch stete Verlagerung der Trogachse nach NW überschneiden sich die Phasen zeitlich.
- Im Unterkarbon steigt die Akkumulationsrate über die Absenkungsrate des Meeresbodens. Liefergebiet ist nun auch die Mitteldeutsche Schwelle im Süden. Flyschsedimentation und Grauwackenbildung mit Turbiditeinlagerungen bei steigender orogenetischer Aktivität gehen stark nord- bis nordwestvergenter Faltung voraus.
Den paläozoischen Werdegang des Orogens stellt DITTMAR (1996: 311 ff) wie folgt dar:
- Erste Riftstrukturen weisen auf einsetzende Extension im unteren Unterdevon hin, welche auch im oberen Unterdevon weiterhin bestand, während gleichzeitig im Süden Konvergenz stattfand. Es entstand südlich des Rhenoherzynischen Beckens ein Ozean, dessen Vulkanite heute metamorph überprägt die Phyllit-Zone am Taunussüdrand darstellen.
- Bei der Kollision der Rhenoherzynischen Zone mit dem Akkretionskeil der Mitteldeutschen Schwelle schloß sich der Ozean im Unterkarbon und Grauwacken-Turbite wurden von dort aus nord- bis nordwestwärts geschüttet. Die devonischen Sedimente wurden auf ein Drittel ihrer Urbreite verkürzt und anchimetamorph (am Taunussüdrand grünschieferfaziell) überprägt.
- Die Kompression ließ im Oberkarbon nach und zunächst machten sich noch konvergente dextrale Blattverschiebungszonen bemerkbar. Später kollabierte die stark verdickte Kruste möglicherweise mit invertierten Bewegungen im Kollisionsbereich (Saar-Nahe-Senke).
Die dextralen Blattverschiebungen bekräftigt ONCKEN (1989: 123 f, 151), da er nach Straininkrementanalysen für die Konvergenz insgesamt eine "schiefe Kollision" bilanziert, deren seitenverschiebender Faktor erst spätkinematisch verstärkt zum Ausdruck kommt.
3.2.2. Mesozoikum
Es sind lediglich wenige triassische terrestrische Sedimente aus dem Rheinischen Schiefergebirge bekannt. Sie werden aus der "Eifeler Nord-Süd-Zone" beschrieben (WALTER 1995: 181).
3.2.3. Känozoikum
Schon vor Beginn des Tertiärs wurde ein im Känozoikum am wirksamsten und bis heute aktives NNW-SSE streichendes Störungssystem angelegt. Es stellt die Verbindung zwischen Niederrheinischer Bucht und Oberrheintalgraben dar. Mehrere Hebungsphasen gliederten den Taunus in zahlreiche Hoch- und Tiefschollen. Die Idsteiner Senke nahe des Kartiergebiets ist eine solche tertiäre Grabenstruktur. Das jüngste Hebungsereignis liegt nicht länger als 700.000 Jahre zurück (WALTER 1995: 184) und hatte die Bildung tiefer Taleinschnitte zur Folge.
4. Probleme der stratigraphischen Gliederung
Die stratigraphischen Begriffe des Unterdevon im Rheinischen Schiefergebirge sind bis heute in Diskussion. Widersprüchliche Formations- und (Unter-)Stufenbenennungen erschweren ein klares Verständnis in diesem speziellen Bereich.
STIFFT (1831: 349, 459) beschreibt die Gesteine um Wallbach als Grauwacken und schiefrige Grauwacken, ohne auf deren Alter einzugehen. Nachdem DUMONT (1848) mit seinen Arbeiten im Westteil der Rheinischen Masse eine erste, hauptsächlich lithologisch bestimmte Unterdevon-Gliederung anstrebte (z.B. "Le phyllade Hundsrückien"), erlangten um die Jahrhundertwende KOCH (1881,1886), LEPPLA (1896, 1924), KAYSER (1886), SANDBERGER (1889), FUCHS (1923, 1929), BEUSHAUSEN (1895) u.v.m. mit Hilfe biostratigraphischer Erkenntnisse zu genaueren Ergebnissen. Durch den komplizierten tektonischen Bau des Gebirges war dieses Vorhaben sehr diffizil; erst die Bestimmung von Leitfossilien ließ eine bessere Aufgliederung zu. Bedeutend war die Beschreibung von charakteristischen Fossilbänken. Die damaligen Fossilienbeschreibungen wurden mit sehr genauen und detailierten Zeichnungen dokumentiert (z.B. DAHMER 1940, 1954; BEUSHAUSEN 1895; FUCHS 1923, 1929). Jüngere Gliederungen stützten sich wieder mehr auf lithostratigraphische Methoden (ANDERLE 1967: 46).
Erst die Erstellung geologischer Karten ermöglichte einen räumlichen Überblick und eine genauere Profilkonstruktion. Die stratigraphischen Einstufungen von KOCH (1881) und nach dessen Tod von KAYSER (1886) wurden um die Jahrhundertwende als maßgebend angesehen.
FUCHS (1923: 342) ersetzt die Bezeichnung: "Zone der Plattensandsteine mit Cypricardellenbänken und Prosocoelus Beushauseni" durch den Begriff "Spitznack-Schichten".
Anfang der 1930er Jahre ordnete EBERT (1931-1934) die Dachschiefer der Spitznack-Schichten am Wallbach dem "Hunsrückschiefer" zu. Den Begriff "Spitznack-Schichten" definierte er als "Cypricardellenbänke zwischen den Bornicher und den Singhofener Schichten". Die betreffenden Gesteine wurden zu dieser Zeit manchmal auch Eeg-Schichten genannt. MITTMEYER (1978, 1983), der nach biostratigraphischen Gesichtspunkten Einheiten im "Hunsrückschiefer" neu gliederte, unterteilte die "Singhofener Schichten" in "Schwall-Schichten" und "Spitznack-Schichten." Wenige Jahre später wurden die "Schwallschichten" wieder dem "Hunsrückschiefer" in der Ulmen-Unterstufe zugeordnet, während die "Spitznack-Schichten" in der jüngeren Singhofen-Unterstufe blieben (Tab. 1, ANDERLE 1987: 84; 1991: 16 f, MITTMEYER 1996: 138).
| Stufe |
Unterstufe |
Formation |
(Formation) |
| Oberems |
Kondel |
Kieselgallenschiefer/Burgschwalbach Sandstein |
|
| Flaserschiefer |
|
| Laubach |
Laubach-Schichten |
|
| Lahnstein |
Hohenrhein-Schichten |
|
| Emsquarzit |
|
| Unterems |
Vallendar |
Im Taunus bisher nicht nachgewiesen |
|
| Singhofen |
Oppershofen-Schichten |
|
| Spitznack-Schichten |
"Singhofener-Schichten" |
| Ulmen |
Schwall-Schichten |
| Kaub-Schichten |
"Hunsrück-Schichten" |
| Bornich-Schichten |
| Sauerthal-Schichten |
| Siegen |
Herdorf
|
|
|
Taunusquarzit |
|
Rauhflaser Tonschiefer
|
|
|
Hermeskeil-Schichten |
|
|
|
|
| Gedinne |
|
Bunte Schiefer |
|
| Graue Phyllite (Kellerskopf-Schichten u. Eppenhain- |
|
| Tab. 1. Gliederung des Unterdevons im Taunus. Nach ANDERLE (1987: 84, Tab.1) |
MEYER & STETS (1980: 732 f) beschreiben Flachmeer-Fazies für das gesamte Unterems. SOLLE (1950: 312 ff) und MITTMEYER (1991: 46) nehmen für den Ablagerungsbereich der Spitznack-Schichten Watt-Fazies an.
Es sei darauf hingewiesen, daß hier die stratigraphischen Probleme nur anhand von Literatur, welche sich überwiegend der Geologie in der näheren Umgebung des Arbeitsgebiets annimmt, behandelt werden. Da viele Autoren unterschiedliche stratigraphische Gliederungen vornehmen, stößt man auf diesem Gebiet immer wieder auf Widersprüche.
5. Erforschungsgeschichte und Interpretation
Auf einer kleinmaßstäblichen Karte von STIFFT (1831) wird die gesamte Region nordwestlich von Idstein einheitlich als "Grauwacke mit ihren verschiedenen Gliedern" beschrieben.
Die erste geologische Karte vom Blatt Idstein erschien 1886 im Maßstab 1:25 000. Erarbeitet wurde sie von KOCH in den Jahren 1877-1881. Die Erläuterungen schrieben nach dessem Ableben und mit Hilfe seiner Aufzeichnungen KAYSER & SCHNEIDER (1886). Das in der vorliegenden Arbeit beschriebene Gebiet wurde damals recht eintönig dargestellt. KOCH (1881) stellte die Gesteine des Distrikts Langheck und seiner Umgebung fast ausschließlich in den Hunsrückschiefer des unteren Unterdevon. Zwei im Streichen zusammengehörende Dachschiefer-Bereiche sind der Karte zu entnehmen. In diesen Bereichen wurden um die letzte Jahrhundertwende Probestollen angelegt um die Dachschiefer auf ihre Abbauwürdigkeit zu untersuchen. Eine bergmännische Gewinnung erfolgte jedoch nicht. KAYSER (1886) hielt die Dachschiefergewinnung an keiner Stelle des Blattgebiets Idstein von Belang. Zwischen den Dachschieferpartien sind "Grauwacken und Thonschiefer" dargestellt; diese sind damals noch den Unteren Koblenzschichten zugeordnet. Signaturen, welche Streichen und Fallen von Strukturen zeigen, gibt es auf der Karte nicht. Auch Profile fehlen in der Arbeit von KAYSER (1886).
Durch EBERT erfolgte in den Jahren 1931 bis 1934 eine geologische Neuaufnahme der Karte Idstein, welche jedoch unveröffentlicht blieb. Seine Darstellung ist differenzierter als die von KOCH (1881). Die wenigen Fossilfunde ließen jedoch keine stratigraphische Eingliederung zu, so daß die sich ähnelnden Gesteine nördlich und südlich des Langheck als die gleichen interpretiert wurden. ANDERLE (1991) teilt das Gestein im Distrikt Langheck den Spitznack-Schichten zu, südlich davon ist es von leicht karbonatreicherem, älterem Gestein überschoben. Die Karte aus dem vorherigen Jahrhundert (KOCH 1881) zeigt keine Überschiebungen, doch es sind vereinzelt Quarzgänge in a-c-Richtung dargestellt, an denen Schichtgrenzen um wenige Meter versetzt werden. Auf EBERTs Manuskriptblatt (1940) hingegen gibt es viele Querstörungen. Ein Profil zeigt wenige Auf- und Abschiebungen. ANDERLE (1991) stellt im Gegensatz dazu auf der geologischen Karte zahlreiche streichende Verwerfungen dar, welche im Profil zusammen mit der neuen stratigraphischen Gliederung einen stark modifizierten Gesteinsverband erzeugen. Diese zahlreichen Verwerfungen enden oft an häufig dargestellten Querstörungen. Der Autor räumt allerdings ein, daß die von EBERT (1931-1934) konstruierten und weitgehend in die Karte übernommenen Querstörungen bei einer Neukartierung in vielen Fällen als nicht mehr notwendig erscheinen würden (ANDERLE 1991: 125).
Die Geologie der weiteren Umgebung beschreibt MITTMEYER in zahlreichen Veröffentlichungen (z.B. 1973, 1991). Über die tektonischen Verhältnisse gibt es bedeutende Arbeiten beispielsweise von HOEPPENER (1953, 1956, 1957), ONCKEN (1988, 1989), ANDERLE (1984, 1991), WEBER (1978, 1986), SAUERLAND (1980) u.v.m. Eine jüngst veröffentlichte Arbeit von DITTMAR (1996) behandelt den tektonischen Bau des südwestlichen Rheinischen Schiefergebirges.
Auf ein unterdevonisches Porphyroid-Vorkommen im Arbeitsgebiet weist ANDERLE (1991) hin. Er fand am Westhang des Nack einen Lesestein des Tuffits und stellt auf der geologischen Karte eine durch eine Aufschiebung zweigeteilte Porphyroid-Linse dar. In der vorliegenden Arbeit wurde mangels solcher Funde auf die Darstellung von Porphyroiden verzichtet.
6. Gesteinsbeschreibung
Auf der geologischen Karte zu dieser Arbeit sind Gesteine des Devons und des Quartärs dargestellt. Die Einordnung der devonischen Gesteine ins Unterdevon nimmt zuletzt ANDERLE (1991) vor. Er unterscheidet innerhalb der Spitznack-Schichten zwischen sogenannten Tonschiefern und Feinsandsteineinlagerungen. Hieran orientierte sich die vorliegende Arbeit. Auf die Grenzziehung zwischen diesen beiden Gesteinseinheiten wird später genauer eingegangen.
Permischen (vgl. Kap. 10.2.6) und tertiären Alters sind Quarze, die Bruch- und Verschiebungsflächen aufsitzen, Vererzungen und Roterdebildungen.
Talauen und oft großräumig ausgebildete Schuttdecken haben quartäres Alter.
6.1. Spitznack-Schichten
Die Schichten des Ems sind wiederum in zwei Stufen unterteilt: Oberems und Unterems. Die Spitznack-Schichten gehören dem Unterems an. (vgl. Kap. 4). Insgesamt mehr als 600 m mächtige Wechsellagerungen von Silt- und Sandstein charakterisieren die Spitznack-Schichten (ANDERLE 1991: 21).
Dünnschliffe aus dem Kartiergebiet zeigen, daß es sich bei den sogenannten Tonschiefern um Siltschiefer mit Korngrößen von 10-50 µm und hohem Tonanteil handelt. Sie stellen eine Gesteinseinheit dar. Grobsiltige, mehr feinsandige Gesteine mit Korngrößen von 50-120 µm bilden die zweite Gesteinseinheit innerhalb der Spitznack-Schichten. Da die Feinsande mitunter als Quarzite vorliegen, sind die Quarzkörner nicht immer in ihrer Ablagerungsgröße bestimmbar, da sich Rekristallisate gebildet haben.
Der Tongehalt des Gesteins wirkt sich auf die Intensität der Schieferung aus. Die Tonschiefer sind sehr viel engständiger geschiefert als die Sandsteine, da sie kleinere Korngrößen und mehr Glimmerneubildung aufweisen.
Die beiden Gesteinseinheiten gehen bei ungestörter Lagerung oft fließend ineinander über. Bei der Kartierung wurden die Grenzen in diesen Übergangsbereich gelegt. Scharfe Materialwechsel sind im Gelände nur selten erkennbar. Eine Ausnahme machen gebankte Feinsandquarzite, wie sie beispielsweise am Kesselbach im Nordosten des Arbeitsgeländes anstehen (R 3445 455, H 5567 670). An- und Dünnschliffe zeigen Materialwechsel häufiger und deutlicher als dies bei dem oft angewitterten Gestein im Aufschluß der Fall ist.
Sand- und Tonstein sowie Sedimente mit unterschiedlichen Gehalten an organischer Substanz können auch miteinander verzahnt sein (siehe Abb. 4) oder eine laterale Unbeständigkeit der Korngrößen aufweisen. Auch HAMMERLINDL (1990: 18) erkannte solche Korngrößenwechsel im Schichtverlauf. Die Spitznack-Schichten lagerten sich demnach offensichtlich im tidalen Ablagerungsmilieu von Wattbereichen ab. Dafür spricht auch das Vorhandensein von Schrägschichtung. Abb. 5 zeigt den Ausschnitt einer Sandsteinschicht mit undeutlicher Schrägschichtung. MITTMEYER (1965: 94) schließt anhand verschiedener Einschüttungsrichtungen auf kreisende Wasserbewegungen (hervorgerufen durch eine große Flußmündung im Westen und dadurch zirkulierende Strömungen).
Phasenweise befand sich das Gebiet lange im Stillwasser-Bereich, wie die teilweise sehr mächtigen Tonstein-Einschaltungen zeigen.
 Abb. 4. Miteinander verzahnte Sedimente unterschiedlicher Zusammensetzung.
 Abb. 5. Schrägschichtung in Sandsteinschicht.
6.1.1. Tonschiefer
Die siltigen Tonschiefer sind in ihrer Farbe stark vom Grad der Verwitterung abhängig. Das Gestein ist in unverwittertem Zustand dunkelolivgrau, dunkelgrau, dunkelgrün, manchmal schwarzgrau fleckig und dunkelbraun. Je verwitterter es ist, desto heller ist es (vgl. Kap. 6.2. Tertiär). Charakteristisch ist der Abstand der Schieferflächen von bis zu einem Millimeter. Plattiges Abbrechen in den Schieferungsebenen ist typisch für dieses Material (Abb. 6). Auch hier ist das Stadium der Verwitterung maßgebend: Je verwitterter die Tonschiefer sind, desto schlechter ist der Zusammenhalt an den Schieferungsflächen (und an Knickflächen). Sie zerbröseln und lassen sich mit der Hand leicht aufblättern. Durch Einregelung der Glimmerminerale parallel zur Schieferung schimmert das Gestein auf den Schieferungsflächen seidig matt.
 Abb. 6. Tonschiefer-Handstück mit charakteristischen Bruchflächen in s1 und s2.
Im Dünnschliff zeigt das Gestein hauptsächlich Serizit und Quarz. Der Serizit ist durch organische Substanz dunkel gefärbt, wodurch das ganze Gestein seine dunkle Farbe bekommt (MOSEBACH 1954: 240). Dies zeigen allerdings nur Serizite, welche in den Schieferungsflächen liegen und diese auch ausmachen. In den quarzreichen Bereichen dazwischen sind farblose Hellglimmer nicht eingeregelt und wahrscheinlich detritisch. Gelegentlich ist der Serizit teilweise oder ganz chloritisiert. Die Chlorite bedingen die Färbung des Gesteins ins Grünliche (MEYER 1970: 39). Viele Quarzkörner löschen undulös aus. Selten sind Feldspat und die Schwerminerale Turmalin, Zirkon und Apatit im Gestein enthalten.
Opake Erzstäubchen sind als Drucklösungsreste parallel zur zweiten Schieferung angelegt (siehe Kap.10.2.2.2. Zweite Deformation).
6.1.2. Feinsandstein und Feinsandquarzit
Die Feinsandsteine und Feinsandquarzite sind olivgrau, olivbraun und graubraun, teilweise dunkelgelb. Verwitternd färben sie sich bis zu dunkelgelbbraunem und grauorangenem, manchmal rötlichem Gestein. Die Schieferungsflächen sind weitständiger angelegt, brechen im mm- bis cm-Bereich. Dadurch entstehen mancherorts die sogenannten "Plattensandsteine" (KOCH 1881: 239). Diese "Plattensandsteine" sind häufig als Verwitterungsschutt zu beobachten (so z.B. am Westhang des Nack, R 3445 000, H 5566 190, Abb. 7). Vereinzelt stehen Klüftung und Schnittkantenlineare bzw. Faltenachsen nicht senkrecht aufeinander und das Gesein bricht entlang dieser vorgegebenen Strukturen rhombenförmig.
Oft ist das feinsandige Gestein unregelmäßig geschiefert, in dickbankigen Bereichen (bis zu 1 m mächtig) ist vereinzelt gar keine Schieferung erkennbar.
 Abb. 7. Typische Bruchform des "Plattensandstein".
Im Dünnschliff zeigen sich Quarz und Hellglimmer als charakteristische Komponenten. Die Hellglimmer liegen überwiegend als Serizit vor und sind bei der ersten Deformation auf den Schieferungsflächen entstanden oder wurden eingeregelt.
Die wenigen Hellglimmer zwischen den Schieferungsflächen sind nicht eingeregelt und als detritisch anzusehen. Die Detritus-Quarzkörner sind unterschiedlich stark beansprucht. Während sie fast immer undulierende Auslöschung zeigen, weisen sie nur bereichsweise Subkornbau auf. Manche Schliffe zeigen starken Subkornbau. Wo die Feinsandsteine quarzitisch vorliegen, herrschen Rekristallisate vor.
Eine statistische Auswertung der Feinsandkörner, bei der deren optischer Charakter bestimmt wurde, ergab, daß es sich dabei etwa zu 90 % um Quarz und zu 10 % um Feldspat handelt.
Auffallend sind relativ große Chlorite mit Längen bis 150 µm. Es handelt sich um Chloritporphyroblasten (vgl. ONCKEN 1989: 170) auf detritischem Hellglimmer. AHRENDT et al (1978: 234) beschreiben sie als während der ersten Deformation quer zu den Schieferungsflächen gebildete Rekristallisate innerhalb der Schieferungslamellen. Auch in Druckschattenhöfen ehemaliger, heute weggelöster Pyritkristalle zeigen die Dünnschliffe neben neugebildetem Quarz fast immer Chlorit.
6.2. Tertiär
Im Tertiär verebnete die Landschaft in subtropischem bis humidtropischem Klima zu flachwelligem Gelände (MITTMEYER 1978: 55 f). Das tropische Klima führte zu einer tiefgreifenden Verwitterung (mindestens seit der Kreide). Die entstandene Verwitterungsrinde wurde durch bruchtektonische Aktivität insgesamt gehoben, abgetragen und durch weitere, bis heute währende Bruchtektonik an Horsten und Gräben vertikal versetzt (ANDERLE 1991: 58 f, STENGEL-RUTKOWSKI 1976). Die mesozoisch-tertiäre Verwitterungsrinde beinhaltet eine Reduktionszone und eine Oxidationszone. Die Oxidationszone entstand erst nach Absinken des Grundwasserspiegels und war bis dahin auch Reduktionszone (FELIX-HENNINGSEN 1997).
Zwischen Wallbach und Görsroth und auch westlich von Görsroth sind die großflächig nur sehr schwach abfallenden Hochflächen des Langheck und des Dürrenhainen als tertiäre Verebnungsflächen zu betrachten. Sie werden wegen ihrer unabhängig von Gesteinshärte und Schichteinfallen ausgebildeten Flächen als Rumpfflächen angesehen (WERNER 1977: 79 f).
Tertiäre Sedimente fanden sich bei der Kartierung im bearbeiteten Gebiet nicht.
Am Steuerberg, südwestlich und unterhalb einer Bauschuttdeponie (R 3443 680, H 5568 050), tritt in Wurzelballen umgestürzter Bäume roter bis rotbrauner Lehm auf. Hier wird eine Roterdebildung vermutet. Diese roten und rotbraunen Zonen entstanden bei der mesozoisch-tertiären Verwitterung in der Oxidationszone, als die dunkelfärbende primäre kohlig-bituminöse organische Substanz (FELIX-HENNINGSEN 1990: 116) wegoxidiert wurde und sich Eisen- und Manganoxide - sekundäre Brauneisenkrusten (SCHLOSSMACHER 1983) - anreicherten. Durch Hohlraumbildung bei der vorherigen Kaolinitisierung des Chlorits (in der Reduktionszone) verlor das Gestein an Festigkeit (Kaolinit konzentriert sich) und es zerfällt nun leichter. In gröberkörnigem Gestein war die Sauerstoffzufuhr größer, weshalb die Feinsandsteine eher eine Roterdebildung erfuhren als die Tonschiefer. Röntgendiffraktionsanalysen zeigen viele Quarz-, Hellglimmer- und Kaolinit-Peaks (Abb. 8). Die Fossilerhaltung ist laut RDA stark kaolinithaltig. Dies ist ungewöhnlich, da Karbonate normalerweise nicht kaolinitisieren. Möglicherweise wurden sie früh weggelöst (wie das auch bei den zahlreichen Crinoidenstielgliedern zu beobachten ist) und später durch anderes Material ersetzt, welches wiederum später kaolinitisierte. Das eigentliche Gestein und die Roterde (Pulverproben ohne Fossilmaterial) zeigen nur eine kleine Menge Kaolinit.
 | Abb. 8. Röntgendiffraktionsanalyse von Sandstein (unten), schluffiger Roterde (mittig) und Fossilresten in toniger Erhaltung (oben). Als kleine bis mittlere Spitzen sind weitere Quarz-, Hellglimmer- und Kaolinit-Peaks erkennbar. |
Ob der rote Lehm unterhalb der Bauschuttdeponie umgelagerter Lehm ist oder tektonisch bedingt in ein niedrigeres Niveau gelangte ist unklar. Die Lage der Deponie spricht nicht unbedingt dafür, daß auch oberhalb dieser Lokalität Lehm ansteht; laut Unterlagen im Kreisausschuß des Rheingau-Taunus-Kreis in Bad Schwalbach wurden hier vor Anlage der Deponie keine geologischen Untersuchungen bezüglich der Dichte des Bodens angestellt.
Die mesozoisch-tertiären Verwitterungsvorgänge werden von ANDERLE (1991: 53 f) und sehr ausführlich von FELIX-HENNINGSEN (1990, 1997 [Beiträge zum Kolloquium "Aufbau und Genese der mesozoisch-tertiären Verwitterungsdecke im Rheinischen Schiefergebirge" am 21.01.1997 in Gießen]) beschrieben. Demnach gibt es größere Eisen- und Manganoxidanreicherungen im Bereich angelöster Quarzlinsen, -lagen, -bänder und -gänge. Die Quarze wurden im Reduktionshorizont angelöst. Im Oxidationshorizont reicherten sich an diesen Stellen hauptsächlich Eisenerze an (Abb. 9b). Es wird angenommen, daß dies mit Hilfe von Sickerwasser geschah. Teilweise verlaufen die Lösungsgänge auf den Quarzlagen entlang von Striemungslinearen (Abb. 9a und 9b). Sulfide wie z.B. Pyrit wurden in der Oxidationszone gelöst und sind manchmal durch Brauneisen ersetzt (Abb. 10).
 Abb. 9. Entlang vorgegebener Striemungslineare angelöste Quarzlage (a), mit Erzausfällungen (b).
 Abb. 10. Eisenoxide pseudomorph nach Pyrit.
6.3. Quartär
Periglaziale Verwitterungslehme und Schuttdecken sowie Gehängeschutt und Fließerden bzw. Solifluktionsschutt in den Hangbereichen machen einen Großteil der Oberfläche des Kartiergebiets aus. Sondierungen mit dem Bohrstock ergaben, daß sie im Bereich der Hochflächen mächtiger als 1 m sind und auf den Talhängen manchmal 0,5-1 m, meistens aber auch mehr als 1 m Mächtigkeit erreichen. 2-3 m tiefe Runsen (s.u.) belegen mancherorts noch tiefreichenderen Verwitterungsschutt.
Im Gegensatz zur langen mesozoisch-tertiären Erosion haben bei der quartären Erosion Gesteinshärte und -lagerung geomorphologisch größere Wertigkeit. So wirken am Westhang des Nack mehrfach grobklastische und quarzitische Schichten als Härtlinge und bilden Klippen im steilen Talanschnitt des Kesselbachs.
Die breiten Talauen, vor allem die des Kesselbachs, sind erfüllt mit Hochflutlehm, der bei Überflutungsereignissen dort sedimentierte (WERNER 1977: 138). Generell passiert dies auch heute noch, jedoch eingeschränkt, da viele Bäche reguliert werden.
Der Gesteinsschuttanteil ist unterschiedlich groß, auch die Korngrößen der Nebenanteile im Lehm variieren zwischen Schluff und Kies. Unter diesem Hochflutlehm liegen Schotterkörper mit größeren Gesteinspartikeln (unterhalb des Frauensteinchen, R 3443 980, H 5568 540). Sie sind in Glazialzeiten entstanden, als die Zufuhr von Schutt in die Flüsse sehr groß war.
Als jüngste quartäre Erscheinungen sind Runsen und Schwemmfächer zu nennen. Die Runsen haben sich als Erosionsrinnen bis zu 2 m tief steilwandig und meist u-förmig in die Talhänge geschnitten und am Hangfuß in der Talaue häufig einen Schwemmfächer gebildet. Besonders deutlich sind die Runsen nordwestlich des Schnepfenkopf am Hang zum Kesselbach und westlich des Zaunbachs (Abb. 11, siehe auch Darstellung auf der topographischen Karte). Ein ca. 100 m durchmessender Schwemmfächer drängt den Kesselbach östlich des Köpfchen an den äußersten Talrand (R 3444 930, H 5566 880, Abb. 12).
 Abb. 11. Runsenbildung im Hang westlich des Zaunbachs.
 Abb. 12. Schwemmfächer im Kesselbachtal.
Als Ursache für diese Erscheinung sieht WERNER (1977: 135) die Waldrodung durch den Menschen ab dem Mittelalter. In bewaldeten Gebieten sorgen größere Grundwasseraustritte oberhalb der Runsen für deren Entstehung. Der verstärkte Wasserabfluß im entwaldeten Bereich oberhalb der eingeschnittenen Hänge sammelte sich in größerdimensionierten Dellentälern (BAUER, 1995) und führte zu den Auswaschungen im Verwitterungshorizont. Manche der Runsen sind in der Gegenwart noch in Weiterbildung und unterspülen Erdreich und Bäume.
Ein anthropogenes Geländemerkmal aus historischer Zeit stellt ein außergewöhnlich großer Ringwall auf dem Nack dar. Er wurde vermutlich im frühen Mittelalter angelegt (HERRMANN 1983).
Südöstlich von Wallbach befindet sich ein weiteres anthropogenes Produkt: Eine "Erdaushub-Deponie" (Kreisausschuß des Rheingau-Taunus-Kreises, Bad Schwalbach) nimmt hier eine Fläche von ca. 150 x 250 m ein.
7. Fossilien
Die Spitznack-Schichten weisen nach FUCHS (1978) im weiteren Umkreis von Blatt Idstein zwei charakteristische Fossilhorizonte auf: Die Cypricardellen-Bank und den pila-Horizont, einem bänkchenbildenden Vorkommen der Mollusken Rhynchonella-pila (MITTMEYER 1978), welcher stratigraphisch unter der Cypricardellen-Bank bzw. "den Cypricardellen-Bänkchen" (FUCHS 1978) liegt. Cypricardellen gehören ebenfalls zu den Mollusken. Sie haben rundlich drei- oder viereckige Gestalt (BEUSHAUSEN 1895). Außer diesen Fossilien gibt es noch eine reiche Muschel- und Brachiopoden-Fauna, welche in den Erläuterungen der geologischen Karten der umliegenden Kartenblätter ausführlich beschrieben wird (z.B. SCHLOSSMACHER 1983, FUCHS 1978, MITTMEYER 1978). In den Erläuterungen zur geologischen Karte von Blatt Idstein gibt MITTMEYER (1991) eine Übersicht zu den Fossilfunden des Blattgebiets. Hier treten die beiden oben genannten Fossilbänke der Spitznack-Schichten zurück, lediglich die pila-Bank wurde an wenigen Stellen ausgemacht.
Im Kartiergebiet sind diese für die Spitznack-Schichten charakteristischen Horizonte nicht aufgeschlossen. Auffallend ist aber, daß die Fossilfundpunkte im Nordwesten des Arbeitsgebiets (siehe geologische Karte, Anlage 1) alle im Streichen liegen, so daß möglicherweise (die Existenz von Querstörungen ist unklar) hier eine zusammengehörende Fossilbank zutage tritt. Davon ausgenommen sind die Fundpunkte von Crinoiden-Stielgliedern bzw. von deren Abdrücken, welche über das gesamte Gebiet verteilt liegen. Für diese Fundpunkte wurden in der geologischen Karte keine Symbole eingetragen. Die Gesteins-Handstücke im Bereich dieser Fossilbank weisen meist eine Vielzahl von Fossil-Resten, Fossil-Abdrücken und Steinkernen auf. Selten sind Organismen-Reste in toniger Erhaltung vorhanden (wie am Hang unterhalb der Bauschutt-Deponie), meistens sind sie weggelöst.
Alle Fossilfunde sind in feinsanigem oder feinsandquarzitischem Material eingeschlossen.
Bei den gefundenen Fossilien handelt es sich um Mollusken, Brachiopoden und in großer Zahl vorkommende Crinoiden-Stielglieder. Desweiteren gibt es je ein deutlich und ein undeutlich erkennbares Exemplar von Pleurodiktyum sp. Häufige Funde dieser Koralle sind aus dem Arbeitsgebiet bekannt (MITTMEYER 1991).
Die Zweischaler erreichen Größen bis 5 cm.
Abb. 13 zeigt den Steinkern eines Brachiopoden. Deutlich erkennbar sind die Armklappe und das Schloß, dazwischen undeutlich erkennbar ein Teil der Cruren.
Der Ablagerungsraum war im Flachsee-Bereich und die Sauerstoffversorgung erreichte die oberen Sedimente, so daß sich (zumindest zeitweilig) Bodenleben ansiedeln konnte.
 Abb. 13. Steinkernabdruck eines Brachiopoden. Sichtbarer Teil des Brachiopoden ca. 1 cm lang.
8. Paläogeographie
Die Ablagerungen des Unterdevon im Rheinischen Schiefergebirge sprechen für das Vorhandensein von Schwellenausläufern, wobei unklar ist, ob und wie lange diese Schwellen insularen Charakter hatten oder inwieweit Watt-Bereiche vorherrschten (SOLLE 1970: 74, MITTMEYER 1991: 46). Im Devon des Hunsrück hat MEYER (1970: 39) NW-SE gerichtete Auswaschungsrinnen beobachtet, was für zumindest zeitweiliges Herausheben der Schwellen über Meeresniveau spricht. SOLLE (1950: 312 ff) beschreibt aktualistisch, daß an der deutschen Nordseeküste reiner Sand ohne jeden Übergang neben typischem Schlickwatt liegen kann und daß die Watt-Fazies Schiefer und sandige Schichten beinhaltet. Ferner sieht er im Verbreitungsgebiet der Spitznack-Schichten einen völlig einheitlichen Sedimentationsraum. An Handstücken sowie in Dünnschliffen deuten bioturbat gestörte Ablagerungen Grabgänge im Watt an. Abb. 14 zeigt einen Grabgang, bei dem grobkörniges Material in feinkörnigem erscheint.
Die (teilweise auf engem Raum) wechselnden Ablagerungsfazies und -mächtigkeiten werden als Produkt synsedimentär aktiver Störungssysteme interpretiert (HOEPPENER 1957: 213, 219, MITTMEYER 1978: 60, DITTMAR 1996: 302 ff). Dieses SW-NE streichende Störungssystem infolge von Krustendehnung (DITTMAR 1996: 311 ff), sowie die o.g. NW-SE gerichteten Auswaschungsrinnen deuten eine Vorzeichnung der späteren Mulden und Sättel in diesem Areal an.
Auch MEYER & STETS (1980: 732 f) beschreiben für die Zeit des Unterems ein Meer, das sehr flach war und vorübergehend trockenfiel. Des weiteren sei eine Flachmeer-Fazies auch in Bereichen großer Absenkung durch verstärkte Sedimentation möglich, so daß die Unterems-Serien im Westtaunus bereichsweise mehr als 3000 m Mächtigkeit erreichen konnten.
Als Ursache für die wechselhaften Schichtverläufe und die unruhige Wechsellagerung von Sandstein und Tonschiefer ist ein kompliziertes Wechselspiel von meteorologischen Ereignissen, einer unruhigen Meeresbodenmorphologie und unsteten Strömungen und Gezeiten anzunehmen.
 Abb. 14. Grabgang (Bildmitte unten). Durchmesser ca. 3 mm.
9. Metamorphose
Der geologische Untergrund im Taunus und im gesamten Rheinischen Schiefergebirge ist durchweg sehr schwach metamorph, mit Ausnahme des höhermetamorphen Südrandes des Rheinischen Schiefergebirges (AHRENDT et al. 1978, DITTMAR 1996). Er gilt als anchimetamorph bis grünschieferfaziell und gehört durch den Nachweis der Pumpellyit-Prehnit-Quarz-Fazies (AHRENDT et al. 1978) dem very-low-grade im Sinne von WINKLER (1979: 68) an. Die genannten Autoren bestimmen den Zeitpunkt der Metamorphose, welcher mit dem der Deformation einhergeht, auf 328 ± 10 Mio. Jahre. Die Metamorphosetemperatur betrug in den meisten Gebieten um 300 °C. DITTMAR & ONCKEN (1992: 35) nehmen für die (im Streichen liegenden) Gesteine im Hunsrück Temperaturen um ca. 275 °C an.
Die im Dünnschliff erkennbaren Quarzrekristallisate deuten auf Metamorphosetemperaturen um 300 °C hin. Die detritischen Quarzkörner zeigen Subkornbildungen die bei Regionalmetamorphose bei Temperaturen ab 275 °C erfolgt sein dürften (VOLL 1983: 95a).
Die Anchimetamorphose entstand nicht allein durch autochthone Auflast; vielmehr ist davon auszugehen, daß tektonische Deckenstapelung die Auflast im wesentlichen ausmachte. Es ist von bis zu mehr als 20 km mächtiger Überlagerung die Rede (ONCKEN 1988: 571 f, ONCKEN 1989: 148 f, DITTMAR 1996: 295, vgl. Kap. 10.2.4.1. Modelle zur Entstehung der Vergenzfächer).
Die insgesamt schwach ausgebildete zweite Schieferung zeigt, daß die Deformation die maximale Metamorphose überdauerte.
10. Tektonik
Im folgenden wird eine tektonische Bestandsaufnahme gezeigt. Aufschlußbeschreibungen, Zeichnungen (Abb. 6, 15, 20, 21, 24-27, 29, 35-39, 42), Diagramme (Abb. 17, 18, 30-34, 40), Fotos (Abb. 16, 19, 23, 28), eine Tabelle (Anhang 1), eine Tektonische Karte (Anlage 2) und einige Querprofile (Abb. 22 und Anlage 3) stellen die Geometrien der Deformationsgefüge im Arbeitsgebiet dar. Kapitel 10.2.5 behandelt ausführlich das Thema Knickbänder.
10.1. Tektonischer Überblick
Im Taunus herrscht asymmetrischer, NNW-vergenter Faltenbau vor. Schichtung, Hauptschieferung und Aufschiebungen streichen etwa parallel. Neben einer sehr ausgeprägten ersten Schieferung läßt sich gelegentlich eine zweite Schieferung erkennen. Faltenamplituden im km-Bereich sind im Taunus und im gesamten Rheinischen Schiefergebirge Hauptstrukturen (z.B. Lahn-Mulde, Hochweiseler Mulde und Hohensteiner Sattel im Taunus). Die durch die synsedimentäre Bruchtektonik im Unterdevon gebildeten Schwellen und Tröge (vgl. Kap. 8. Paläogeographie) entwickelten sich zu den heutigen Großsätteln und -mulden (MITTMEYER 1978: 60). Das Kartiergelände läßt solche Großstrukturen nicht erkennen. Die synorogenen bruchtektonischen Strukturen wurden mit der Orogenese reaktiviert und begrenzen heute Großschollen und -schuppen.
In Norden in Richtung Taunussüdrand werden Faltenachsenflächen, Schieferung und Aufschiebungen steiler, saiger und schließlich SSE-vergent. Im Arbeitsgebiet ist dieser Vergenzwechsel des öfteren zu beobachten.
Begrenzt auf Tonschiefer-Bereiche mit steil und saiger stehender erster Schieferung gibt es Knickbänder. Diese Knickbänder haben überwiegend abschiebenden Charakter, womit sich ein "Zerfließen" des Gebirges durch Gravitation ausdrückt. Die Anlage der Knickbänder wird als letzte variszische Deformation angesehen (Kap. 10.2.5. Knickbänder).
Querstörungen sind im Taunus oft kilometerlang zu verfolgen. Sie sind vornehmlich mit Quarz erfüllt. In die gleiche Richtung (NNW-SSE), teilweise auch in N-S Richtung, sind junge extensionelle Bruchstrukturen orientiert (z.B. Idsteiner Senke), welche mit der Bildung des Oberrheintalgrabens als Folge der alpidischen Orogenese in Verbindung gebracht werden (ANDERLE 1991: 126).
Die Tektonik des Westtaunus zwischen Lahn-Mulde und Taunussüdrand wird von SAUERLAND (1980) ausführlich dargestellt. Diese Arbeit beinhaltet auch Untersuchungen im hier beschriebenen Kartiergebiet.
10.2. Gefüge
10.2.1. Schichtung (s0)
Die unterschiedlichen Korngrößen der unterdevonischen Gesteinseinheiten weisen verschieden stark ausgebildete Deformationsgefüge auf: Tonschiefer zeigen engständige Hauptschieferung und oft auch Zweitschieferung, während in den Gesteinen der Feinsandsteinfraktion die Hauptschieferung teilweise gar nicht erkennbar ist.
Reine Tonschieferablagerungen lassen wegen ihrer starken Schieferung und stärkeren Deformation keine Schichtung erkennen. Oft sind in den Tonschiefer-Bereichen jedoch gröberklastische Lagen eingeschaltet, welche mitunter erst bei der mikroskopischen Betrachtung sichtbar werden. Feinsandsteine und -quarzite zeigen oftmals schon im Aufschluß den Schichtverlauf anhand unterschiedlicher Verwitterungsresistenz verschiedener Schichten. Außerdem machen sich auch hier Korngrößenwechsel oder andersfarbige Einschaltungen bemerkbar.
Quarzlagen und -linsen mit Mächtigkeiten bis in den cm-Bereich parallel zur Schichtung entstanden nach HOEPPENER (1955: 95 f) mit Beginn der Faltung durch wiederholtes Gleiten auf Schichtflächen und Ausfällung von Quarz in den durch Unebenheiten entstandenen Zwischenräumen. Wegen den Striemungslinearen die dabei entstanden, wurden sie vorerst als Harnische, später als Lagenharnische bezeichnet. Striemungslineare auf den Quarzlagen (Abb. 15) sind im Untersuchungsgebiet häufig.
 Abb. 15. Striemungslineare (Pfeil) auf schichtparalleler Quarzlage.
WEBER (1980: 612 ff) hält es nicht für möglich, daß größere Zwischenräume vor der Faltung im unmetamorphen Sediment für die lange Zeit der Mineralisation des Quarzes existiert haben können. Er bezweifelt die dazu nötige hohe Viskosität der Ablagerungen. Seiner Meinung nach führen hohe Porenlösungsdrucke (verursacht durch Kompaktionsungleichgewichte) und tektonische Spannungen zur Bildung der Spalten, Mineralisationen und Verschiebungen. Wiederholt sich dieser Vorgang, kommt es zur Anlage von sogenannten "crack and seal" - Quarzlagen. Mehrere solche Quarzlagen zeigt Abb. 16.
 Abb. 16. Mehrschichtige Quarzmineralisationen (lagenparallel angelöst).
Die Quarzgänge und Lagenharnische entstanden vor und während der Anlage der ersten Schieferung (DITTMAR 1996: 170, 200), d.h. daß diese Quarzmineralisationen bei beginnender Faltung schichtparallel und bei fortschreitender Faltung schieferungsparallel entstanden.
Die Schichtung fällt außer nach SE und NW auch flach nach S, SW oder W ein (Abb. 17). Denkbar für diese Abweichung wäre eine postvariszische Verkippung oder Schrägstellung um wenige Grad nach SW, was ein Einfallen der Schichtung in o.g. Richtungen zur Folge hätte.
 Abb. 17. Isopyknendiagramm der eingemessenen s0. Isolinien: 2, 5, 10, 15 %.
10.2.2. Schieferung und Faltung
Faltenachsenflächen und Schieferungsflächen der ersten Deformation haben ähnliche Orientierungen, wobei der Vergenzmeiler der Schieferung (vgl. Abb. 20) im Bereich der Falte nicht außer acht gelassen werden sollte: Sind Schichtung und Schieferung in einem Aufschluß der nur den geraden Teil eines Faltenflügels zeigt gut erkennbar, so läßt sich daraus ableiten, in welcher Richtung der Sattel bzw. die Mulde zu erwarten ist. Auch Abknicken der Schieferung im Übergangsbereich der verschiedenen Schichten läßt diese Ableitung zu. Parasitärfalten zeigen ebenso die übergeordnete Faltenstruktur an.
Faltenachsen und Schnittkantenlineare von Schichtung und Schieferung haben die gleiche übergeordnete Orientierung. Die Zusammengehörigkeit der ersten Faltung und der ersten Schieferung (als Achsenflächenschieferung der ersten Faltung) wird damit unterstrichen. Flaches Abtauchen der Achsen und Lineare nach SW überwiegt (Abb. 18).
Gelegentlich tritt eine Zweitschieferung auf. Vereinzelt ist dabei auch Faltung der zweiten Ordnung erkennbar. Ein paar wenige Messungen an Schnittlinearen der ersten mit der zweiten Schieferung, welche eindeutig als solche erkennbar sind, zeigen, daß sie entsprechend der Schnittkanten der ersten Deformationsgefüge orientiert sind.
 Abb. Abb. 18. Polpunktdiagramm aller eingemessenen s0 (O) , s1 (+), s2 (¦), B-Achsen und Schnittlineare (·).
10.2.2.1. Erste Deformation (D1)
Die erste Schieferung (s1) ist in allen Aufschlüssen makroskopisch gut erkennbar. Je feinkörniger das Gestein ist, desto engständiger ist die erste Schieferung und desto dünner sind die Schieferungslamellen. Als Transversalschieferung durchsetzt sie auch meist kompetentere Bänke (wobei der Begriff "Transversalschieferung" im Kartiergebiet auch durch "Achsenflächen-Schieferung" ersetzt werden könnte [MURAWSKI 1983]). An scharfen Wechseln unterschiedlich kompetenter Schichten knickt s1 in einen anderen Winkel zu s0 (Abb. 19).
 Abb. 19. Abknicken der Schieferung an einer inkompetenteren Schicht (Mitte).
Sandige und quarzitische Lagen werden von der Schieferung nicht immer zerschert und versetzt. Auch in Dünnschliffen ist zu beobachten, daß s1 vereinzelt kompetentere Schichten nicht durchquert. Innerhalb mächtiger Sandsteinschichten ist - selbst in Dünnschliffen - kein s1 erkennbar. Die Dünnschliffe zeigen Phyllosilikatneubildung auf den Schieferflächen und Wachstum von Phyllosillikat-Porphyroblasten zwischen den Schieferflächen. Laut MITTMEYER (1962: 65) fand möglicherweise im scheinbar undeformierten Gestein die Verformung durch intragranulare Translation statt. Er vermutet dies nach Untersuchungen an Sandstein-Bänken und den darin enthaltenen deformierten Fossilien.
In allen Aufschlüssen wurde steiles Einfallen und selten auch Saigerstellung der ersten Schieferung gemessen. Sie streicht SW-NE und weist unterschiedliche Vergenzen auf (siehe Kap. 10.2.4. Vergenzfächer).
Im allgemeinen überwiegt Transversalschieferung. Lediglich am Südhang des Wallbachtals (R 3444 060, H 5568 260) stehen parallelgeschieferte Tonsteine an. Parallelgeschieferte Tonschiefer werden als Dachschiefer bezeichnet. Sie wurden im Taunus bergmännisch gewonnen und als Baumaterial überwiegend zum Dachdecken benutzt. In diesem Fall wurde - laut Unterlagen des Bergamts Weilburg - das Gestein nach Anlage eines Versuchsstollens im Jahre 1899 als nicht abbauwürdig befunden, da die Schieferplatten nicht groß genug gebrochen werden konnten.
Bei den Falten der ersten Generation (F1), die im Kartiergebiet erkennbar sind, handelt es sich um monokline Biegefalten. Sie sind meist stark asymmetrisch und weisen lange SE-Schenkel und kurze NW-Schenkel auf. Selten sind geringmächtige Lagen rhombisch gefaltet (Abb. 20). Zu erklären ist die Entstehung der Lang-Kurz-Falten durch Faltenvorschub als Folge der anhaltenden lateralen Einengung, wobei die kurzen Faltenflügel weiter gestaucht und verdickt und die langen Faltenflügel weiter gestreckt und ausgedünnt wurden (siehe auch SAUERLAND 1980: 19 f). Hierbei rotierten die Schieferungsflächen in die Richtung senkrecht zur größten Einengung auf dem jeweiligen Schenkel.
 Abb. 20. Enge rhombische Biege-Scher-Falte mit Vergenzmeiler.
Innerhalb der stark zusammengedrückten kurzen NW-Schenkel gibt es Spezialfältelungen mit ptygmatischem Gefüge und in pelitischen, sehr glimmerreichen Partien dieser Kleinfalten entstanden bei der Deformation vereinzelt Knickbänder (vgl. Kap. 10.2.5.5. Verschiebungssinn und Bedeutung der Knickbänder).
Im Arbeitsgebiet sind meist nur Teile von Biegefalten aufgeschlossen. Die Klippen nördlich von Görsroth (R 3443 960, H 5566 420, 70 m SSE´ Pkt. 314,0) zeigen eine monokline Falte mit einer Amplitude von mindestens 5 m, wobei der Schichtverlauf am kurzen Schenkel nicht ganz klar zu verfolgen ist. Trotzdem läßt sich hier der Sattel einer Lang-Kurz-Falte ausmachen (Abb. 21). Ebenfalls den Sattel einer Falte im mehrere Meter- bis 10er Meter-Bereich stellen die Klippen am WSW-Hang des Gebrannter Berg dar. Auch hier ist der Schichtverlauf nicht immer klar, insgesamt ist jedoch die Struktur eines Sattels erkennbar (R 3444 090, H 5568 490).
 Abb. 21. Sattelstruktur nördlich von Görsroth. Der Schichtverlauf des kurzen Schenkels ist unsicher.
Einige Handstücke und Dünnschliffe zeigen deutliche Biegescherfaltung anhand von Quarz- oder Feinsandlagen in dunklen Tonschiefern. Zum einen sind die kompetenten Lagen verbogen, zum anderen sind sie zerschert. Die kompetenteren Lagen sind mehr oder weniger gefaltet und überdies durch Scherung faltenförmig verzerrt (Abb. 20).
Die B-Achsen der Falten verlaufen generell SW-NE, wobei sie mit wenigen Grad einfallen. Die Achsen neigen sich entweder in einen Bereich zwischen SSW und WSW oder, seltener, nach NNE und ENE. Die Maximalwerte liegen bei 15°, im Mittel beträgt die Neigung etwa 10°. Wahrscheinlich ist dieses Abtauchen durch postvariszische Schollenkippung verursacht.
Aus den Beobachtungen in den Aufschlüssen wurden Profile entwickelt. Sie sind in Abb. 22 konstruiert. Hauptgegenstand dieser Profile ist von F1 überprägte Schichtung. Kleine Falten und Spezialfältelungen erscheinen dort aus Maßstabsgründen nicht.
 Abb. 22. Profile quer zum Streichen. Im NE (A - B), in der Mitte (C - D) und im SW (E - F) des Kartiergebiets
10.2.2.2. Zweite Deformation (D2)
Ist außer s1 noch eine weitere Schieferung vorhanden, die das s1-Flächengefüge durchschneidet und deformiert, so handelt es sich um die zweite Schieferung (s2).
In einigen älteren Arbeiten wird die zweite Schieferung auch als "Runzelschieferung" oder "Schubklüftung" bezeichnet. Der Begriff "Runzelschieferung" trifft z.B. in Oberauroff "Am Dorfbrunnen" (R 3445 700, H 5564 240) sehr gut zu. Hier erzeugt s2 tatsächlich eine deutliche Runzelung auf den s1-Flächen.
Die zweite Schieferung ist im Taunus weniger intensiv ausgebildet als s1, was sich darin zeigt, daß s2 - zumindest im bearbeiteten Gebiet - makroskopisch nur in den Tonschiefern erscheint und in den Gesteinen der Feinsandsteinfraktion ausbleibt. Nur aus der Phyllitzone am Taunussüdrand ist bekannt, daß s2 die Hauptschieferung darstellt (ONCKEN 1988: 567, DITTMAR 1996: 267). Bis auf eine Ausnahme fällt s2 im Kartiergebiet nach NW ein. Zwischen den s2-Flächen sind die s1-Lamellen meist deutlich verbogen und zeigen den relativen Schersinn von s2 an (vgl. Abb. 6). Im Dünnschliff ist erkennbar, daß auch das s2-Flächengefüge an quarzreicheren Schichten endet oder innerhalb dieser nur undeutlich weiterverläuft (Abb. 23).
 | Abb. 23. Dünnschliffoto (7 x 5 mm). Wechsel von feinpelitischem und grobpelitischem Material. Die zweite Schieferung (ca. 20° nach rechts einfallend) bleibt im grobpelitischen Material weitgehend aus. |
Es gibt auch große Tonschieferbereiche und -zonen in denen s2 ganz fehlt. Dies kann unter anderem von der Lage der ersten Schieferung abhängig sein (HOEPPENER 1956: 272 ff).
Die bei der Gesteinsbeschreibung in Kap. 6.1.1 erwähnten opaken Stäubchen parallel s2 sind dort bei Drucklösungsvorgängen verblieben. Die Temperatur während s2 reichte für eine Glimmerneubildung im Druckschatten nicht mehr aus, während die unlöslichen Rückstands-Minerale sich dort relativ anreicherten. Da die Scheitelbereiche während der Anlage von s2 stark mit Quarz angereichert wurden, verdickten sie sich. Mit dieser Verdickung verarmten sie relativ an den wiederstandsfähigen Erzmineralen, so daß diese als opake Phase in s2 erscheinen (VOLL 1983: 107).
Das Flächengefüge der ersten Schieferung ist relativ häufig durch eine zweite Deformation verfaltet. Diese F2-Falten sind nur selten größeren Ausmaßes. Im unteren Bereich des Südhangs des Köpfchen ist ein Teil einer F2-Falte mit einer Amplitude von mehreren Metern aufgeschlossen (Abb. 24, R 3444 590, H 5566 600): Schichtung und schichtparallele Schieferung der ersten Deformation sind verfaltet und von s2 faltenachsenparallel durchzogen. Quarzgänge sind im Sinne von VOLL (1983, Tl. 1: 60) bei der ersten Schieferung auf s1a entstanden.
 Abb. 24. Falte der zweiten Generation mit Quarzgängen auf s1a.
Kleinere Falten sind häufiger aufgeschlossen. Quarzlagen parallel und subparallel s1 sind im gleichen Maße verfaltet. Unter dem Mikroskop sind Rekristallisate in den Quarzlagen erkennbar. Die Quarzaggregate weisen Deformationslamellen, starken Subkornbau und suturierte Korngrenzen auf. Risse quer dazu sind mit unbeanspruchtem Quarz erfüllt, dieser bildete sich also erst nach der Faltung in den bei der Bewegung entstandenen Zwischenräumen. Die Risse bildeten sich im Bereich der Quarzlagen, da diese kein so duktiles Verhalten zeigen wie das glimmerhaltige umgebende Gestein. Außerdem deutet das Fehlen s2-paralleler Glimmer darauf hin, daß die Metamorphose bereits vor Anlage von F2 ihren Höhepunkt hatte. Somit ist die zweite Deformation in bezug auf die Glimmerneubildung postkristallin; der Metamorphosehöhepunkt war bei der zweiten Faltenbildungs-Phase schon vorbei.
10.2.3. Auf- und Abschiebungen
Die wenigen sichtbaren streichenden Störungen im Kartiergebiet sind subparallel zur Faltenachsenfläche und zu s1 angelegt. Sie fallen stets steil ein und zeigen aufschiebenden Bewegungssinn. Diese Aufschiebungen entstanden nach Anlage nordwestvergenter Falten und weiterer lateraler Einengung. Die Nordwestflanken der Falten wurden immer mehr ausgewalzt (nachdem sie anfangs noch gestaucht und spezialgefältelt wurden) und schließlich abgeschert. Die Geringmächtigkeit der Störungszonen ist auf die relativ niedrige Temperatur bei der Deformation zurückzuführen. Das Gestein brach und ließ keine mächtige Zerrüttungszone zu, zumal die Gesteinsschollen sich auf parallel zur Schieferung angelegten Bahnen bewegten. Die Verschiebungsflächen sind nur schwer auszumachen und wegen der hierfür schlechten Aufschlußverhältnisse nicht weit verfolgbar. Große, schollenbildende Störungssysteme wurden nach HOEPPENER (1957: 213, 219) und DITTMAR (1996: 302 ff) schon synsedimentär als Abschiebungen angelegt und synorogen als Aufschiebungen reaktiviert.
Die Aufschiebungen waren ursprünglich nordwestwärts gerichtet, d.h. die Schollen überschoben nach NW. Sind die Aufschiebungen im Gesteinsverband antithetisch über die Vertikale rotiert (vgl. Kap. 10.2.4: Vergenzfächer), dann erscheinen sie als Abschiebungen. Eine solche durch Rotation überkippte und abschiebend erscheinende Aufschiebung gibt es am Osthang des Meßloh, dort wo Kesselbach und Auroffer Bach sich vereinen (R 3444 910, H 5566 140).
Die große Libbach-Breitheck-Überschiebung befindet sich direkt südlich des Arbeitsgebietes (siehe GK Idstein). Die älteren Kauber Schichten sind hier auf die jüngeren Spitznack-Schichten aufgeschoben (ANDERLE 1991). Die Störungszone ist nicht groß und im Gelände nur schwer erkennbar.
In bestimmten Bereichen des bearbeiteten Gebietes treten in Verbindung mit Knickbändern kleinere Abschiebungen auf: Sie werden in Kapitel 10.2.5 zusammen mit den Knickbändern beschrieben.
Am Ende der Überschiebungsphase gab es einen Wechsel der Bewegungen in westliche, teilweise westsüdwestliche Richtung (ONCKEN 1989: 151). Im Untersuchungsgebiet wurden dafür keine Hinweise gefunden.
10.2.4. Vergenzfächer
Im Rheinischen Schiefergebirge sind vereinzelt Vergenzfächer beschrieben: In der Eifel (z.B. SIMPSON 1940, JANKOWSKY 1955), im Hunsrück (z.B. MEYER 1970) und im Taunus (z.B. KUBELLA 1951, WEBER 1978, SAUERLAND 1980, ONCKEN 1988, ANDERLE 1991). Die im Taunus beobachteten Vergenzfächer sind deutlich ausgeprägt. Sie wurden in der Vergangenheit von den oben Genannten viel diskutiert.
Das Einfallen von Überschiebungsbahnen, Faltenachsenflächen und dazu subparalleler Schieferung ändert sich im Kartiergebiet von Nord nach Süd aus SE-Einfallen über die Vertikale in die entgegengesetzte Richtung. Aus einer Nordvergenz im Norden wird eine Südvergenz im Süden, dazwischen Saigerstellung. Die Zone der Saigerstellung ist genauer betrachtet eine Zone mehrmaligen Vergenzwechsels, die sich über mehrere hundert Meter senkrecht zum Streichen erstreckt (siehe Profile in Abb. 22). Das wechselnde Einfallen im Bereich der Scheitelzone des Vergenzfächers ist möglicherweise auf Knickbänder zurückzuführen (SAUERLAND 1980: 21, 61 f). Knickbänder im 10er Meter-Bereich, die wegen ihrer Größe als solche im Gelände nicht erkannt werden, könnten s1 verkippt haben. Des weiteren ändert sich das Einfallen von s1 auch im Streichen, so daß die Existenz einiger Querstörungen wahrscheinlich ist (siehe Abb. 42 und Kap. 10.2.6. Postvariszische Bruchtektonik und Mineralisation).
Gleichfalls gibt es einen Vergenzfächer der zweiten Schieferung (ANDERLE 1991: 124). Die Scheitelzone hiervon tritt einige Kilometer weiter nördlich zutage, so daß im bearbeiteten Gebiet s2 steil nach NNW einfällt (vgl. Abb. 18), also Südvergenz aufweist. Der Vergenzfächer der zweiten Schieferung ist entsprechend der minderen Entwicklung von s2 wesentlich undeutlicher.
10.2.4.1. Modelle zur Entstehung der Vergenzfächer
Zur Entstehung der Vergenzfächer entwickelt WEBER (1978) das "Subfluenzmodell", nachdem WUNDERLICH 1964 bereits Bewegungen des subkrustalen Untergrundes, denen auch die Erdkruste ausgesetzt ist, vermutet. WEBER (1978: 277 ff) geht von Bewegungen im Erdmantel aus, deren Fließbewegung sich mit aufsteigender Metamorphose in höhere Stockwerke durchpaust, wobei die Kruste von dieser Subfluenz erfaßt wird. Die Mitteldeutsche Schwelle im Süden bildet indes eine Barriere für die Beckenfüllung, so daß diese "gestaut" wird, während die Bewegung des Untergrunds (relativ nach S bzw. SE) weiterläuft. Das gestaute Material (Relativbewegung nach N bzw. NW) wird zunehmend anisotropisiert und es folgt die Anlage stark asymmetrischer nord- bzw. nordwestvergenter Falten. Bei der weiteren lateralen Einengung entstehen listrische Überschiebungen (Abb. 25).
 | Abb. 25. Profile zur Anlage listrischer Flächen (a) und der Schollenaufrichtung im Hinterland an listrischen Flächen (b). Vereinfacht nach WEBER (1978). |
Seismische Profile zeigen horizontale Flächen (WEBER 1978). Es wird vermutet, daß die Überschiebungen in der Tiefe aus diesen horizontalen Flächen - aus horizontalen Bewegungsbahnen - hervorgehen. Bei fortschreitender Anlage listrischer Überschiebungen rotieren die hinteren Schuppeneinheiten antithetisch und Vergenzfächer entstehen.
Plattentektonik, Subduktion und Herausbildung eines Akkretionskeils können ebenfalls für die Anlage der Überschiebungen und Vergenzfächer verantwortlich sein und lassen die Vorstellung der "Subfluenz" später verschwinden (WEBER & BEHR 1983, WEBER 1986).
Daß keine listrischen Überschiebungen nötig sind, veranschaulicht ONCKEN 1988. Er konstruiert in seinen Profilen eine "flat-and-ramp"-Geometrie für die Überschiebungen.
Denkbar ist, daß das Rheinische Schiefergebirge bei der Deformation bereits überlagert war von subparallel zur Schichtung abgescherten Schuppeneinheiten, die sich als Decken übereinanderstapelten. Die Gießener Grauwacke wäre als Relikt davon anzusehen. ONCKEN (1988: 571 f, 1989: 148 f) zeigt in seinen Profilen zur Strukturentwicklung eine Überlagerung von 5-22 km Mächtigkeit.
Den Aufwärtsbewegungen an den Überschiebungsbahnen wirkten möglicherweise diese Deckenstapel entgegen. Mit dieser entgegenwirkenden Kraft wurden die Bewegungen auf den Überschiebungsbahnen gestoppt und nach Norden fortschreitend entstanden neue Überschiebungen. In deren Hinterland richteten sich die bereits existierenden Verschuppungen sukzessiv auf. Davon wurden die schon vorher rotierten Bereiche und die älteren Überschiebungen erfaßt und antithetisch weiterrotiert bis zur Saigerstellung oder bis in über die Vertikale gekippte Lage. Die entstandenen Strukturen werden als "horse structures" bezeichnet (im Profil erinnern sie an ein in mehreren Bildern dargestelltes aufsteigendes Pferd). Die Darstellung der Schieferung in den Profilen (Abb. 22 und Anlage 3) und die in Kapitel 10.2.3 (Auf- und Abschiebungen) beschriebene "überkippte Aufschiebung" beweisen das Vorhandensein eines solchen Vergenzfächers im Untersuchungsgebiet und seiner Umgebung.
Ein erweitertes (linksrheinisches) Modell von DITTMAR (1996) besagt, daß möglicherweise aus einer Reihe von "Pull-apart-Becken" schon im Unterdevon ein Ozean entstand mit zunächst divergierenden passiven Kontinentalrändern der Rhenoherzynischen Platte im Nordwesten und der Saxothuringischen Platte im Südosten. Grauwacken lagerten sich in diesem "Lizard-Gießen-Ostharz-Ozean" ab. Mit beginnender Plattenkonvergenz wurde der Südrand des Ozeans unter die Saxothuringische Zone subduziert. Bei weiterer Subduktion schob ein Akkretionskeil die der basaltischen Ozeanbasis auflagernden Grauwacken als Decken fortan synorogen relativ nach Nordwesten auf die Rhenoherzynische Platte. Später scherte er die mächtigen Ablagerungen des Kontinentalrandes von ihrem kristallinen Untergrund ab und verkürzte sie durch Faltung, Verschuppung und Stapelung auf ein Drittel ihrer Urbreite. Der Akkretionskeil gehörte zur Saxothuringischen Platte und stellte die Mitteldeutsche Schwelle dar. Auch in diesem Modell wird von bis zu 20 km mächtiger Überlagerung des heutigen Erosionsniveaus ausgegangen (DITTMAR 1996: 295).
Vollständigkeitshalber sind in Abb. 26 - vereinfacht nach DITTMAR (1996) - Profile dargestellt, welche sein geodynamisches Entwicklungsmodell des südwestlichen Rheinischen Schiefergebirges in fünf Schritten vom Unterdevon bis zum Mittelkarbon demonstrieren.
Vorrangig in den Bereichen der Scheitelzone mit steil- und saigerstehender Schieferung sind spätvariszisch Knickbänder entstanden.
 | Abb. 26. Profile zur geodynamischen Entwicklung des SW´ Rheinischen Schiefergebirges mit dem Entwicklungsstand während der oberen Siegen-Stufe (a), an der Wende Unterems/Oberems (b), im tiefen Oberdevon (c), im höheren Unterkarbon (d) und im Unter- und Mittelkarbon (e). Vereinfacht nach DITTMAR (1996). |
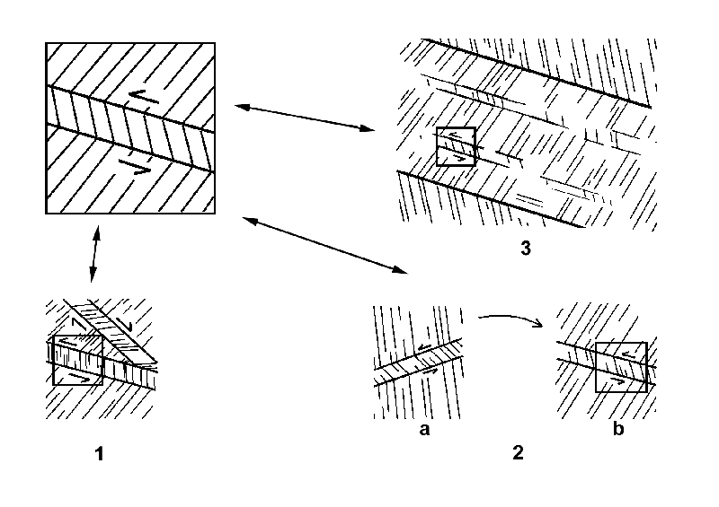
10.2.5. Knickbänder
10.2.5.1. Grundlagen
Knickbänder, auch Knickzonen genannt, gibt es in stark anisotropem Gestein mit engständigen s-Flächen (HOEPPENER 1956: 268). Zwischen zwei parallelen, spitzwinklig zur Anisotropie angelegten Flächen, den Knickflächen, sind die s-Flächen (Schicht- oder Schieferungsflächen) rotiert. Die Schnittkante von Knickfläche und s-Fläche ist die Knickachse, um welche die s-Flächen rotieren (Abb. 27). Die Umbiegung der s-Flächen um die Knickachse ist meist scharf oder gebrochen. Durch die Fortsetzung quer zur Anisotropie erscheint die entstandene Struktur als Band, unabhängig von der Schärfe der Umbiegung. HOEPPENER (1956: 268 ff) beschreibt die Knickbänder als Flexuren.
 Abb. 27. Schematische Darstellung zur Anatomie eines Knickbands.
Ein Knickband ersetzt eine Verschiebungsfläche bei der das Hangende auf- oder abgeschoben wird. Je nach Orientierung des Knickbands hat es aufschiebenden oder abschiebenden Charakter. Die Morphologie sagt nichts über den Charakter aus, da dieser sich ändert, wenn das Knickband um 90° senkrecht zum s-Flächengefüge rotiert wird. Grundsätzlich ist ein Knickband entweder als "verkürzend" (reverse kink band) oder als "dehnend" (normal kink band) anzusehen.
SAUERLAND (1980) beschreibt in seiner Dissertation den tektonischen Bau des Westtaunus zwischen Taunussüdrand und Lahn-Mulde. Bei den von ihm untersuchten Knickbändern unterscheidet er zwischen einscharigen Knickbändern und zweischarigen bzw. konjungierten Knickbändern. Einscharige Knickbänder sind definiert als eine Schar von Knickbändern mit gleichem Rotationssinn. Die Einengung ist spitzwinklig zur Anisotropie (bis 30°). Konjungierte Knickbänder zeichnen sich dadurch aus, daß zwei Scharen von Knickbändern spitzwinklig aufeinander treffen oder sich durchkreuzen. Die Schieferungsflächen der beiden Knickband-Scharen sind in entgegengesetzte Richtungen rotiert. Besonders deutlich ausgeprägt sind diese konjungierten Knickbänder etwa 12 km westlich des Untersuchungsgebiets im Aartal an der Herrenmühle (R 3432 770, H 5562 820, Abb. 28). Diese zweischarigen Systeme entstehen - Versuchen nach - bevorzugt bei Einengung parallel und subparallel zu den die Anisotropie ausmachenden Schieferungsflächen (z.B. DEWEY 1965: 486 ff). Im Rheinischen Schiefergebirge sind Knickbänder auch im Verbund mit Verschiebungsflächen bekannt (z.B. WEBER 1978: 258 ff).
 Abb. 28. Konjungierte Knickbänder im Aartal an der Herrenmühle.
10.2.5.2. Erforschungsgeschichte
Da die klastischen Gesteine im gesamten Rheinischen Schiefergebirge vereinzelt Knickbänder aufweisen, werden diese aus verschiedenen Regionen beschrieben. Anfangs wurden sie z.B. im Bereich des Ostsauerländer Hauptsattels als Schichtung gedeutet (SCHLÜTER 1928: 204), an der die Schieferung auf einige Zentimeter abknickt bzw. abgelenkt wird. PAECKELMANN (1933: 224) nennt die selben Strukturen im Sauerland "Knickfalten" und "Zerknitterung". Er interpretiert sie als Merkmale für Schubklüftung oder zweite Schieferung. Bei der Beschreibung des Devons in der SE-Eifel schildert SIMPSON (1940) das Auftreten von Knickbändern: Es gibt in größeren Aufschlüssen bis zu drei Gruppen von Knickbändern die stumpfwinklig zueinander angeordnet sind. Die einzelnen Gruppen beinhalten Scharen von Knickbändern mit etwa gleicher Breite und Orientierung. Gegen die Erscheinung einer Schubklüftung, also einer zweiten Schieferung, spricht seiner Meinung nach das Vorhandensein mehrerer Knickband-Scharen. SIMPSON (1940) sieht die Ursachen für die Anlage dieser Strukturen im Zusammenhang mit der Entstehung großer Überschiebungen. Diese gingen aus horizontalen Bewegungen hervor nachdem die erste Schieferung bereits ausgebildet war.
EBERT (1961: 57 f) umschreibt Knickbänder im Gebiet um Bödefeld im Sauerland mit "Knickschieferung" und "Knitterung". Er schildert als Anfangsstadium dieser Strukturen Wellung und später Knickung mit einer bzw. schließlich zwei begrenzenden Kluftflächen. Schubspannungen aus zwei verschiedenen Richtungen wurden hier als Ursache vermutet, da die Schieferungslamellen innerhalb der Knickbänder eine andere Streichrichtung aufweisen als die Schieferung außerhalb und so der Eindruck entsteht, es handele sich um Verdrehungen, welche sich in der Anlage dieser Strukturen ausdrücken.
Nach mehreren experimentellen Untersuchungen von DEWEY (1965), PATERSON & WEISS (1966), CLIFFORD (1968), DONATH (1968, 1969), WEISS (1968), ANDERSON (1974) und GAY & WEISS (1974) gibt es unterschiedliche Modelle zur Entstehung von Knickbändern. Alle experimentellen Untersuchungen zeigen die Entstehung von Knickbändern bei Einengung parallel bis spitzwinklig zur Anisotropie. Deformierte s-Flächen innerhalb der Knickbänder führten zu unterschiedlichen Auffassungen über die Entstehung der Knickbänder. SAUERLAND (1980: 51 ff) faßt die Ergebnisse dieser Untersuchungen zusammen und beschreibt die Modelle:
Nach DONATH (1968: 268 ff, 1969: 476 ff) und CLIFFORD (1968: 236) erfolgt die Anlage von Knickflächen in Bereichen mit hoher Scherspannung. Bei der Externrotation der Knickflächen kommt es zur Internrotation der s-Flächen. Die Knickflächen behalten während der Rotation ihren Abstand bei (Abb. 29a). Dabei kommt es innerhalb des Knickbands zur Dehnung zwischen den s-Flächen und zum Zerbrechen der s-Flächen selbst. Da die Ausgangslänge der internen Schieferungslamellen größer ist als der Abstand der Knickflächen senkrecht zueinander, erhöht sich bei der Rotation der auf die s-Flächen wirkende Strain. Dieser ist am größten, wenn s-Flächen und Knickflächen senkrecht zueinander stehen. Die Deformation der s-Flächen bewirkt die nötige Kürzung bei der Rotation. Kann bei weiterer Rotation der Knickflächen keine interne Ausgleichsbewegung mehr stattfinden, entstehen Scherungen auf den Knickflächen oder neue Knickbänder.
Eine andere Vorstellung zur Entstehung der Knickbänder haben PATERSON & WEISS (1966: 367), WEISS (1968: 329, 1980: 13 ff) und GAY & WEISS (1974: 295). In ihren Modellen krümmen sich zuerst wenige s-Flächen. Die Krümmung greift bei zunehmender Beanspruchung auf benachbarte Schieferungslamellen über und bildet sich zum Knickband aus. Dabei vergrößern sich Länge und Mächtigkeit des Knickbands und die Knickflächen wandern voneinander weg in undeformiertes Material hinein (Abb. 29b). So haben alle s-Flächen innerhalb des Knickbands an jeder Stelle einmal den Umbiegungsbereich - die Knickfläche - durchlaufen, was eine Fältelungsstruktur der internen s-Flächen zur Folge hat. Nach WEISS (1980: 23) kann sich beim Wachsen des Knickbands auch die Orientierung der Knickflächen ändern.
Für beide Modelle sprechen die Versuchsergebnisse von ANDERSON (1974: 376). Während in den Phyllitproben bei geringen Drucken viele schmale Knickbänder entstanden, wiesen sie bei starker Beanspruchung nur wenige, dafür breite Knickbänder auf, was für laterales Wachstum sprechen könnte.
Eine weitere Hypothese stellt DEWEY (1965: 461 ff) auf: Bei Einengung parallel oder spitzwinklig zur Anisotropie werden durch Zerbrechen der s-Flächen Knickflächen angelegt. Bei deren Rotation gleiten die internen s-Flächen aneinander, ohne daß sich der Abstand der Schieferungslamellen vergrößert. So bleibt eine Dehnung zwischen den s-Flächen aus. Bei weiterer Rotation kann der Verbund der s-Flächen innerhalb und außerhalb der Knickbänder verloren gehen.
 Abb. 29. Modelle zur Entstehung von Knickbändern. a) nach DONATH (1968, 1969) und CLIFFORD (1968); b) nach PATRSON & WEISS (1966), WEISS (1968) und GAY & WEISS (1974, 1980).
10.2.5.3. Knickbänder im Kartiergebiet
Im Taunus herrscht - vor allem in den Tonschiefern - eine starke Anisotropie vor. Sie ist bedingt durch die s1-Flächen. Die starke Anisotropie ist Voraussetzung für die Anlage von Knickbändern (HOEPPENER 1956: 268).
Im bearbeiteten Gelände im Raum Idstein fallen keine Knickbänder mit dehnendem Charakter auf. Aufgeschlossen sind ausschließlich verkürzende Knickbänder mit überwiegend abschiebender Wirkung.
In 23 Aufschlüssen (Anlage 4) wurden 75 Knickbänder lokalisiert und begutachtet. Neben der Schieferung außerhalb (sfext.) und der Schieferung innerhalb (sfint.) des jeweiligen Knickbands wurden Knickfläche und Knickachse eingemessen. Ob das Knickband auf- oder abschiebend wirkt wurde ebenfalls bestimmt (Anhang 1). In einigen Fällen waren wegen schlechter Aufschlußverhältnisse nicht alle Messungen möglich. Offensichtlich durch Hangrutschung verstellte Gesteinspartien wurden nicht eingemessen. In dieser Hinsicht bleibt allerdings ein geringer Unsicherheitsfaktor bei fast allen Messungen, denn Aufschlüsse andernorts zeigen Hangrutschungs-Erscheinungen ("Hakenschlagen") bis zu 10 m unter der Hangfläche (so z.B. der Steinbruch vorm östlichen Ortseingang von Esch [2-3 m] oder die Bergeinschnitte, die im Zuge der Baumaßnahmen für die ICE-Trasse Frankfurt-Köln im Bereich Niedernhausen angelegt wurden).
Die Knickbänder im Arbeitsgebiet weisen zwischen den zusammengehörenden Knickflächen Abstände von wenigen mm bis zu 20 cm auf. Durchschnittlich sind die Knickbänder 1-2 cm mächtig. Im feinpelitischen Tonschiefer erzeugen kleinste Knickbänder eine Art Runzelung, wie sie auch vereinzelt von der zweiten Schieferung verursacht wird. Makroskopisch ist diese Runzelung nur schwer zuzuordnen, meistens wird sie jedoch von s2 verursacht. Beide Ursachen für die Runzelung zeigen die Felsen "Am Dorfbrunnen" in Oberauroff (R 3445 700, H 5564 240). Je größer der Abstand zwischen den s-Flächen ist, desto breiter ist das Knickband (HOEPPENER 1956: 268). Knickband-Mächtigkeiten im m- und 10er m-Bereich werden in dieser Region vermutet; SAUERLAND (1980: 21, 61 f) beschreibt Knickbänder von z.T. mehr als 10 m Mächtigkeit wenige km südwestlich des Kartiergebiets.
Die Abstände zwischen den Knickbändern sind meist regellos; in großen knickbandreichen Aufschlüssen betragen sie 2-5 cm.
Es fällt auf, daß im Arbeitsgebiet die Hauptschieferung überwiegend steil steht (vgl. Abb. 30).
 Abb. 30. Isopygnendiagramm der Polpunkte aller eingmessenen s1 im Kartiergebiet (Isolinien: 2, 4, 6, 8 %).
Obwohl davon auszugehen ist, daß manche Gesteinsblöcke nach Anlage der Knickbänder noch rotierten (s.u.), liegen keine s1-Einfallwerte unter 30° und nur wenige unter 45° vor. Die Schieferung außerhalb der Knickbänder streicht WSW-ENE, wie das bei der ersten Schieferung auch überregional generell der Fall ist. An wenigen Stellen schwenkt die Streichrichtung in Richtung SW-NE; auch das ist nicht ungewöhnlich.
Verglichen mit allen im Kartiergebiet eingemessenen s1 überwiegt in den Bereichen mit Knickband-Bildung eine Südvergenz der Hauptschieferung, d.h. die Knickbänder wurden bevorzugt in den Bereichen des Vergenzfächers angelegt, wo die Schieferung über die Saigerstellung rotiert ist (Abb. 31).
Abb. 32 zeigt, daß innerhalb der Knickbänder die Schieferungslamellen insgesamt in ein flacheres Einfallen rotiert sind. Flaches bis mittelsteiles Einfallen überwiegt steilem Einfallen. In der Regel sind die Schieferungslamellen innerhalb der Knickbänder südvergent, die Haupt-Streichrichtung ist SW-NE, einige Werte zeigen auch N-S-Streichen, bevorzugt mit Einfallen nach W.
 Abb. 31.Polpunktdiagramm aller s1 außerhalb d. Knickbänder.
 Abb. 32. Polpunktdiagramm aller s1 innerhalb d. Knickbänder.
Die Knickflächen weisen flaches und mittelsteiles Einfallen in Richtung SE und über S nach SW auf. Steiles Einfallen ist in Richtungen um S am häufigsten (Abb. 33). Sehr steil stehende Knickflächen sind selten. Keine bevorzugte Einfallsrichtung zeigen jene Knickflächen, die nur wenige Grad von der Horizontalen abweichen.
Bei den Knickachsen ist ein deutliches Maximum in flachem Abtauchen nach WSW bis SW erkennbar (Abb. 34). Da aber auch die B-Achsen und Schnittkantenlineare von Schichtung und Schieferungen überwiegend (flach) nach SW einfallen, sind postvariszische Ereignisse als Ursache hierfür anzusehen.
 Abb. 33. Polpunktdiagramm aller Knickflächen.
 Abb. 34. Punktdiagramm aller Knickachsen.
Die Schichtung konnte nur selten eingemessen werden, da die Knickbänder bevorzugt im feinpelitischen Gestein vorkommen und in diesem die Schichtung oft nicht erkennbar ist (siehe Kap. 10.2.1. Schichtung).
Die mit Hilfe des StereoNett Version 2.02-Programms ermittelten Winkel zwischen den Knickflächen und den Schieferungsflächen extern bzw. intern liegen bis auf wenige Ausnahmen zwischen 50° und 89°, im Mittel beträgt der Winkel 68° (extern) bzw. 70° (intern). Die Rotation der Schieferungslamellen um die Knickachse (= Knickwinkel) erfolgte um 07° bis 87°, meist 25° bis 55°, durchschnittlich um 37,5° (vgl. Anhang 1).
Wie kleinräumig die Mächtigkeit eines Knickbands variieren kann, zeigt ein Aufschluß an der L 3274 östlich Görsroth (R 3444 800, H 5566 120). Hier verbreitert sich ein ca. 8 mm mächtiges Knickband innerhalb von 6-7 cm in Richtung der Knickachse auf das Zehnfache (Abb. 35). Dadurch weist dieses einzelne Knickband zwei Knickachsen mit unterschiedlichen Einfallsrichtungen und -winkeln auf.
 
Abb. 35. Ein sich stark verbreiterndes Knickband (oben) und Schema zur Verdeutlichung der räumlichen Lage (unten).
Bei den Knickbändern sind die Schieferungslamellen meist scharf umgebogen oder auch gebrochen, wodurch die Knickflächen entstehen. Es gibt Knickbänder mit Übergängen von Flexur zu Umbiegung wie das in Abb. 36 dargestellt ist. Die Umbiegung kann unterschiedlich scharf sein und durchaus auch als Faltung bezeichnet werden. Oftmals wurden in grobklastischem Gestein diese faltenähnlichen Strukturen lokalisiert, die keine Bruchflächen zeigen. Sie ersetzen mit ihrer Band-Struktur Knickbänder und somit Verschiebungsflächen.
Innerhalb der Knickbänder kann es durch die Rotation zur Dehnung der Schieferungslamellen kommen (vgl. Abb. 39), wobei zwischen den Schieferungslamellen Raum entsteht. Ausfällungen wie VERBEEK (1978: 822) sie beschreibt oder Relikte von Ausfällungen gibt es in diesen Zwischenräumen nicht. Selbst ein ungewöhnlich s-förmig gebogenes Knickband in den Klippen des Hohelei (R 3445 870, H 5563 010), bei dem die Foliation in einem Teilbereich deutlich aufgeblättert und auseinandergezogen ist, weist keine Füllung auf.
 Abb. Abb. 36. Knickband mit Übergang von Flexur zu Umbiegung
10.2.5.3.1 Erste und zweite Knickband-Schar
Zur ersten Knickband-Schar gehören die am häufigsten vorkommenden nach SE abschiebenden Knickbänder. Sie weisen zwischen den jeweils zusammengehörenden Knickflächen Abstände von 0,5 bis 10 cm, vereinzelt bis 40 cm auf. Zur zweiten Schar gehören nach NW abschiebende Knickbänder mit Breiten zwischen 1 und 4 cm. Solche sind am Nack und am Westhang des Gebrannter Berg aufgeschlossen. Hier fallen die Knickflächen mit 82° und 84° auffallend steil nach NW ein, bilden aber keinen außergewöhnlichen Winkel mit der in diesem Bereich relativ flach einfallenden Schieferung. Zu dieser zweiten Schar gehört auch ein Knickband im Kesselbachtal, welches nach N aufschiebend erscheint. Es ist zusammen mit einem Knickband der ersten Gruppe aufgeschlossen und mit diesem möglicherweise konjungiert.
Wahrscheinlich stehen alle Knickbänder der beiden Knickband-Gruppen dergestalt in Verbindung, daß sie als konjungierte Knickbänder zusammengehören, jedoch nur selten gemeinsam aufgeschlossen sind. Nur wenige Aufschlüsse weisen diese konjungierten Knickbänder im Verbund auf und zeigen den Bereich, wo sie sich treffen oder durchkreuzen. Die dort eingemessenen Strukturen entsprechen den zwei oben beschriebenen Knickband-Scharen. Dabei muß vorausgesetzt werden, daß die Gesteinsverbände um eine W-E- bis SW-NE-Achse rotiert sind - vereinzelt möglicherweise auch noch nach Entstehen der Knickbänder - und deshalb die Knickbänder stark unterschiedliche Einfallwerte zeigen.
10.2.5.3.2. Dritte Knickband-Schar
Eine dritte, linkshändig seitenverschiebende bzw. schrägabschiebende Knickband-Schar, wie sie von ANDERLE (1991: 109) beschrieben wird, ist im Kartiergebiet westlich und östlich des Kesselbachs in Höhe des Köpfchen aufgeschlossen (R 3444 880, H 5566 860 und R 3445 040, H 5566 650). Die gemessenen Einfallwerte der Knickachsen entsprechen in einem Aufschluß im Mittel mit 60° Richtung 230° genau den von ANDERLE (1991: 109) gemittelten Werten dieser Knickband-Gruppe. Auch die Klippen des Hohelei (R 3445 870, H 5563 000) südlich des Kartiergebiets zeigen diese Strukturen vereinzelt. SAUERLAND (1980: 56) beschreibt dieses Knickband-System mit größerer Häufigkeit aus der weiter westlich gelegenen Region um das Aartal. In einigen Fällen konnte er feststellen, daß die abschiebenden Knickbänder von den schrägabschiebenden bzw. seitenverschiebenden Knickbändern versetzt werden, diese also jüngerer Entstehung sind. Auch spricht für die Existenz einer dritten Knickband-Gruppe, daß im Bereich dieser Knickbänder mit steil abtauchenden Achsen die Schichtung mit 30° nach SSW einfallend erkennbar ist (Anhang 1). Erste Vermutungen, ganze Gesteinspartien oder -schuppen seien hier durch Hangrutschung oder tertiäre Tektonik verkippt und nach W rotiert, bestätigten sich damit nicht. Zwar entspricht 108° Streichen der Schichtung nicht dem üblichen Streichen im Rheinischen Schiefergebirge, speziell im Kartiergebiet ist es jedoch nicht ungewöhnlich (vgl. Kap. 10.2.1. Schichtung).
10.2.5.3.3. Knickbänder und Abschiebungen
Es gibt auch Knickbänder, die mit Verschiebungsflächen konjungiert sind; so z.B. im Kesselbachtal (R 3445 500, R 5568 000). Eine abschiebende Verschiebungsfläche ist hier entlang der oberen Knickfläche um einige cm versetzt, folgt dann der internen Foliation bis zur unteren Knickfläche und schwenkt dann wieder in die vorherige Richtung (Abb. 37). Es ist anzunehmen, daß die Abschiebung jünger ist als das Knickband, da sie ein Stück weit dessen vorgegebenen Strukturen folgt. Der Versatz an diesen Abschiebungen beträgt nur wenige cm (weshalb auf ihre Darstellung auf der geologischen Karte [Anhang 1] und in den Profilen [Abb. 22 und Anlage 3] verzichtet wurde).
 Abb. 37. Knickband und Abschiebung im Kesselbachtal.
10.2.5.4. Entstehung der Knickbänder
Zur Entstehung von Knickbändern muß die Haupteinengungsrichtung parallel oder spitzwinklig zur Anisotropie liegen. Das bedeutet für das Kartiergebiet, daß die Knickbänder bei vertikaler Einengung gebildet wurden, also nicht bei NW-SE gerichteter Kompression, sondern bei NW-SE gerichteter Extension. Dies zeigt die steile, um die Vertikale stehende Schieferung in den Geländeabschnitten mit Knickbändern. In den Bereichen mit flach und mittelsteil einfallender s1 sind Knickbänder nur untergeordnet entwickelt. Die abschiebenden Knickbänder entstanden bei Streckung quer zum Gebirgsstreichen in postorogenen Extensionsspannungsfeldern (ONCKEN 1989). Solche abschiebenden Strukturen sind Teil des gravitativen Kollaps eines Gebirges.
Wenige Knickbänder der ersten und der zweiten Schar haben (teils nach NW, teils nach SE) aufschiebenden Charakter. Dies paßt nicht zu der Vorstellung der gravitativ-extensionellen Entstehung der Knickbänder, da die vertikale Einengung nur abschiebende Strukturen erzeugen sollte. Nach den Beobachtungen und Erkenntnissen im Zuge dieser Diplomarbeit gibt es jedoch mindestens drei Modelle, die das Vorhandensein dieser aufschiebend wirkenden Knickbänder möglich machen können:
1.)
Sie sind als zweite Schar Teil konjungierter Knickbänder, wie dies in einem Aufschluß außerhalb des Kartiergebiets ("Am Dorfbrunnen" in Oberauroff, R 3445 700, H 5564 240) auch festgestellt wurde. In Bereichen mittelsteil stehender Schieferung könnte die Gesteinspartie zwischen den spitzwinklig aufeinandertreffenden Knickbändern eine Aufwärtsbewegung gemacht haben, da das untere Knickband die gleiche Einfallsrichtung hat wie das obere. So erscheint das einzelne Knickband aufschiebend, insgesamt hat sich das Hangende aber der Schwerkraft folgend subvertikal bewegt (Abb. 38.1);
2.)
Der gesamte Gesteinsverband ist nach Anlage der Knickbänder (Abb. 38.2a) weiter rotiert (siehe Kap. 10.2.4. Vergenzfächer), was zur Folge hat, daß die Knickflächen über die Horizontale in die entgegengesetzte Richtung kippen (Abb. 38.2b). Hiervon wären die nach SE aufschiebend erscheinenden Strukturen ebenso betroffen, da auch eine "Rückrotation" der Schuppen extensionstektonisch möglich erscheint;
3.)
Es handelt sich um untergeordnete Knickbänder innerhalb sehr viel mächtigerer Knickbänder, wie SAUERLAND (1980: 21, 61 f) sie beschreibt. Innerhalb eines großen Knickbands abschiebender Art, dessen Mächtigkeit im 10er Meter-Bereich liegt, könnten solche Knickbänder vorkommen, deren interne Schieferung genauso orientiert ist wie die Schieferung außerhalb des großen Knickbands. Zeigt der Aufschluß nur einen solchen Teilbereich, erscheinen die Knickbänder darin aufschiebend, obwohl der Gesamtbereich abgeschoben wurde (Abb. 38. 3).
 Abb. 38. Drei Modelle zur Existenz aufschiebender Knickbänder: 1) als Teil konjungierter Knickbänder; 2) vor (a) und nach (b) Rotation; 3) als untergeordnetes Knickband.
Manchmal weist die Schieferung innerhalb nach NW und SE abschiebender Knickbänder die entgegengesetzte Vergenz der Schieferung außerhalb auf (Abb. 39).
 Abb. 39. Entgegengesetzte Vergenzen innerhalb und außerhalb des Knickbands.
Würde man größere Rotationsbewegungen nach Anlage der Knickbänder ausschließen, müßte bei diesen Knickbändern nach DEWEY (1965), CLIFFORD (1968) und DONATH (1968, 1969) die Foliation innerhalb des Knickbands über die Vertikale rotiert sein. Diese originär aufschiebende Bewegung ist nur in Verbindung mit einem konjungierten Knickband möglich. Das Modell von PATERSON & WEISS (1966), WEISS (1968, 1980) und GAY & WEISS (1974), bei dem sich ein Nukleus bildet (s.o.), welcher wächst und sich so zum Knickband entwickelt, wäre hier auch vorstellbar. Das oben beschriebene, sich stark verbreiternde Knickband (Abb. 35) weist auf ein solches Geschehen hin, ist aber das einzige aufgeschlossene dieser Art. Gegen das Modell spricht, daß eine starke Deformation der knickband-internen Schieferung, wie die oben Genannten sie beschreiben, an keiner Stelle beobachtet wurde.
Fehlende Einschlüsse und Ausfällungen in den knickband-internen Foliations-Zwischenräumen deuten entweder auf eine oberflächennahe Entstehung der Knickbänder hin oder die in größerer Tiefe durch Zirkulation von Lösungen ausgefällten Minerale wurden in oberflächennaher Lage im Zuge der mesozoisch-tertiären Verwitterung (vgl. Kap. 6.2) vollständig weggelöst.
Die jüngeren Knickbänder der dritten Schar (SAUERLAND 1980: 56) zeigen mit ihren steil abtauchenden Knickachsen und ihrem schrägabschiebenden Verschiebungssinn eine Rotation der Spannungsrichtungen an. Möglicherweise zeigen sich darin erste Bewegungen der Idsteiner Senke (SAUERLAND 1980: 81).
10.2.5.5. Verschiebungssinn und Bedeutung der Knickbänder
Bei Rotation der Schieferungslamellen um die Knickachse müßten in der stereographischen Projektion die Polpunkte der externen Schieferung, der internen Schieferung und der Knickfläche auf einem Großkreis liegen und der Polpunkt dieses Großkreises müßte der Knickachse entsprechen. Dies ist nicht immer der Fall, wird aber wegen der meist schwer einmeßbaren Knickflächen als Meßungenauigkeit behandelt (obwohl dies auch für WEISS' Modell spräche, da ihm nach [WEISS 1980: 23] die Foliation bei der Knickband-Bildung die Orientierung ändern kann).
Es entstanden zwei Hoeppener-Diagramme (eines für das Kartiergebiet und eines für die südlich davon gelegenen Aufschlüsse), bei denen zuerst die Polpunkte von externer Schieferung (vgl. Abb. 30: +) und interner Schieferung (vgl. Abb. 31: x) auf einen Großkreis gebracht wurden. Dann wurde die Rotationsrichtung von "+" mit einem Pfeil dem Großkreis folgend in Richtung "x" dargestellt. Dabei war der Bewegungssinn des Knickbands wichtig, da bei einigen Knickbändern durch die überkippte Lage der internen Schieferung der Pfeil eine aufschiebende Bewegung suggeriert hätte. So zeigt der Pfeil in Richtung des Verschiebungssinns. Nach Entfernen des Großkreises und der restlichen Durchstoßpunkte bleibt eine Kugelprojektion mit der Darstellung des Bewegungssinns der Schieferungslamellen nach HOEPPENER (Abb. 40). Da das Kartiergebiet im Bereich eines Vergenzfächer-Scheitels liegt, fällt weiter im Süden die "überkippte" Hauptschieferung nach NW ein (Abb. 40b). Dies geht deutlich aus diesen Diagrammen hervor. Davon abgesehen zeigen beide Diagramme Knicken der Schieferung um flach nach SW bis W einfallende Achsen.
 
Abb. 40. HOEPPENER-Diagramme zur Darstellung des Bewegungssinns der Knickbänder im Kartiergebiet (a) und südlich des Kartiergebiets (b).
Zwischen den Meßergebnissen im Westen und im Osten (Richtung Idsteiner Senke) des untersuchten Gebiets fallen keine Unterschiede im Verschiebungssinn der Knickbänder auf.
Für den Versuch, den Strain zu ermitteln, wurden die eigenen Meßwerte statistisch ausgewertet. Der Mittelwert der Knickwinkel der Schieferungslamellen (vgl. Kap. 10.2.5.3. Knickbänder im Kartiergebiet) dient der Berechnung des Strains. Bei einer im Kartiergebiet durchschnittlich gemessenen Knickband-Mächtigkeit von 1-2 cm im Abstand von durchschnittlich 2-5 cm ergeben sich in Verbindung mit dem mittleren Knickwinkel von 37,5° nach der Formel
b cos g - b
e = ------------------
a + b
Longitudinalstrain-Werte (e) zwischen 3,4 und 6,8 %.
Hierbei ist a = sfextern , b = sfintern und g = Knickwinkel (vgl. Abb. 41).
 Abb. 41. Modell zur Berechnung des Longitudinalstrains.
Da a + b = l0 und a + b' = l
l - l0 b cos g - b
gilt e = --------- = --------------
l0 a + b
Dieser Strain wirkt parallel zur (meist steil bis vertikal stehenden) ersten Schieferung.
Die Ergebnisse sind ob der wenigen und nur ungenau ermittelbaren Meßwerte unsicher und nur auf feinpelitische Gesteinspartien mit Knickbändern beschränkt.
Ein Dünnschliff zeigt innerhalb eines stark zusammengedrückten kurzen Faltenschenkels in einem sehr glimmerreichen Gestein mikroskopisch kleine Knickbänder. Sie entstanden bei der ersten Deformation. Von diesen lateral-kompressiven Gefügen abgesehen werden die Knickbänder als Strukturen der letzten variszischen Deformation angesehen (ANDERLE 1991: 109). Es kam zu bruchhafter Verformung. Demnach herrschten niedrigere Drucke und Temperaturen als dies bei erster und zweiter Deformation der Fall war. Die abschiebenden Knickbänder entstanden also bei der Hebung der Kruste in ein höheres Niveau als spätes variszisches Ereignis und als Anzeichen für den beginnenden gravitativen Kollaps des Gebirges. Die Untersuchungen der vorliegenden Arbeit haben gezeigt, daß die Anlage von Knickbändern nicht unbedingt das letzte variszische Ereignis darstellen muß. Möglicherweise kam es nach der Knickband-Bildung noch zur Rotation bzw. "Rückrotation" einzelner Schollen und Gesteinsblöcke (siehe Kap. 10.2.5.4. Entstehung der Knickbänder). Demnach wären die Knickbänder schon während der Herausbildung der Vergenzfächer entstanden.
10.2.6. Postvariszische Bruchtektonik und Mineralisation
Im Rheinischen Schiefergebirge, besonders im Taunus, gibt es Bruchstrukturen die größtenteils quer zum Streichen verlaufen und das Gebirge in Schollen mit Horsten und Gräben unterteilen. Häufig sind Mineralisationen an diese Schollengrenzen gebunden. Die Bruchstrukturen sind offenbar spät- bis postvariszisch angelegte Klüfte oder Störungen, die teilweise schon primär Horst- und Grabenstrukturen erzeugten (ANDERLE 1984: 208 f). Oberkretazische und tertiäre tektonische Aktivität bei der Aufwölbung des Rheinischen Schilds führte erneut zur Anlage von Hoch- und Tiefschollen, wie Altersbestimmungen an Basalten zeigen (ANDERLE 1984: 209). Auch pleistozäne Schollenbewegungen werden beschrieben (ANDERLE 1984: 212).
Die an die spät- bis postvariszischen Bruchstrukturen gebundenen Querstörungen sind oft mit Quarz erfüllt, dieser wiederum liegt häufig pseudomorph nach Baryt vor. Bisher wiesen paragenetische und sedimentologische Befunde auf oberkretazisches bis tertiäres Alter dieser Pseudomorphosenquarzgänge hin. Jüngste Untersuchungen an neugesproßten Illit-Kristallen in Nebengesteinseinschlüssen im Inneren des Usinger Quarzganges ergaben permisches Alter (SCHNEIDER et al 1997: 307). Im Untersuchungsgebiet weisen Häufungen von Quarzbruchstücken (wie z.B. am Südhang des Gebrannter Berg) auf die Nähe von Querstörungen hin. Ferner belegen Funde von Quarzkristallen eine Mineralisierung auf Kluftflächen. Eine genaue Lokalisierung der Querstörungen war nicht möglich.
Der Verlauf der Scheitellinie der ersten Schieferung im Bereich des o.g. Vergenzfächers ist durch Querstörungen häufig versetzt. In der Idsteiner Senke verläuft die Scheitellinie 2-3 km weiter südlich als in den angrenzenden Hochschollen (ANDERLE 1991). Der horizontale Versatz erscheint möglicherweise nur als solcher: ANDERLE (1991: 124) hält Krümmung des s-Flächengefüges um die B-Achse zur Tiefe hin für möglich. Durch diese Krümmung wäre die Scheitellinie des Vergenzfächers in unterschiedlichen Höhen oder nach Erosion bzw. Einebnung der Hochschollen horizontal versetzt (Abb. 42). Auch mit "horse structures" als Folge einer "flat and ramp"-Geometrie wäre ein solches Modell vorstellbar.
 | Abb. 42. Schema zum horizontalen Versatz der Vergenzfächer-Scheitellinie. Ungestört (1); nach Heraushebung einer Hochscholle (2); nach Einebnung der Hochscholle (3). (Der Bereich der Vergenzfächer-Scheitellinie ist gepunktet und abgedunkelt.) |
Möglicherweise sind kleine Quellaustritte am Osthang des Meßloh (östlich Görsroth) an Störungen gebunden; auf der GK 5715 Idstein (ANDERLE 1991) ist in diesem Bereich eine nicht unbedeutende Querstörung kartiert. Des weiteren lassen zahlreiche Quarzmineralisationen und in sich gestörte Harnische westlich des Zaunbachs eine Querstörung vermuten.
Junge, wasserwegsame Störungen bilanziert STENGEL-RUTKOWSKI (1976: 204) nach Auswertung neuer Aufschlüsse und Bohrungen im Bereich der Idsteiner Senke und des Limburger Beckens. Weiter heißt es, Idsteiner Senke und Limburger Becken sind Folgen neogener Vertikaltektonik mit teilweise noch rezenter seismischer Aktivität (STENGEL-RUTKOWSKI 1976: 211). Hierzu gehören auch die N-S verlaufenden Störungen, welche u.a. den Verlauf der Idsteiner Senke bestimmen. Sie werden mit der Bildung des Oberrheintalgrabens als Folge der alpidischen Orogenese in Verbindung gebracht. ANDERLE (1991: 126) vermutet, in N-S- und W-E-orientierten Störungen - den sogenannten D-Störungen - liege weitaus mehr Bedeutung als bisher angenommen wurde.
11. Zusammenfassung
Das bearbeitete Gebiet weist unter großflächigen quartären Schuttdecken unterdevonische Sedimente der Tonschiefer- und Feinsandsteinfraktion auf.
Im Unterdevon sorgte rasche Sedimentation bei ständiger Absenkung des Rheinischen Trogs für ein flaches Meer. Im Norden des Kartiergebiets tritt eine Fossilbank mit mariner Fauna zutage.
Bei der mesozoisch-tertiären Verwitterung wurden die oberflächennahen Gesteine gelockert und Vererzungen und Roterden gebildet.
Taleinschnitte in die tertiäre Rumpffläche sind pleistozänen Alters.
Das devonische Gestein ist anchimetamorph überprägt und zeigt eine deutliche erste Schieferung, welche von einer intensiven Glimmerneubildung begleitet ist und primär stark nordwestvergent angelegt wurde. In feinpelitischen Bereichen kann eine zweite, postkristalline Schieferung ausgebildet sein.
Durch starken Schuppenbau und anhaltende laterale Einengung bei der variszischen Überprägung entstanden im Taunus sogenannte "horse structures": Es kam zu sukzessiver Aufrichtung hangender Schuppeneinheiten bei nordwestlich fortschreitender Anlage von Überschiebungsbahnen im Liegenden.
Im Scheitelbereich eines so entstandenen Vergenzfächers liegt das Kartiergebiet. Achsenflächen und Hauptschieferung stehen steil bis saiger. In diesen Bereichen kam es beim Kollaps des Gebirges durch gravitative Kräfte zur Anlage von Knickbändern. Sie ersetzen Verschiebungsflächen. Vereinzelt sind sie auch mit Abschiebungen verbunden.
Die am häufigsten aufgeschlossene Knickband-Schar hat nach SE abschiebenden Charakter, eine zweite zeigt NW-gerichteten Bewegungssinn. Sie sind aufgrund der gleichgerichteten vertikalen Einengung zusammengehörend bzw. konjungiert. Die Knickachsen beider Scharen tauchen mit nur wenigen Grad in Streichrichtung ab. Manchmal sind Knickbänder dieser beiden Gruppen direkt konjungiert aufgeschlossen.
Möglicherweise durch Rotation, als Teil konjungierter Knickbänder oder innerhalb größerer übergeordneter Knickbänder erscheinen einige der Knickbänder aufschiebend.
Eine untergeordnete, dritte Knickband-Schar deutet mit schrägabschiebendem Verschiebungssinn eine Rotation der Spannungsrichtung und möglicherweise erste Bewegungen der Idsteiner Senke an. Sie ist im Untersuchungsgebiet nur selten aufgeschlossen.
Die Untersuchungen im Zuge dieser Diplomarbeit ergaben, daß die Knickbänder bevorzugt in Bereichen südvergenter Schieferung entstanden. Im Süden und südlich des Kartiergebiets weist die Schieferung häufiger Südvergenz auf, weshalb dort fast ausschließlich nach S bis SE abschiebende Knickbänder einzumessen waren. Unterschiede zwischen Messungen im Westen und Osten des Gebiets wurden nicht festgestellt.
Ein weiteres Ergebnis dieser Arbeit ist eine Longitudinalstrain-Berechnung von 3,4-6,8 % für die Gesteinspartien mit Knickbändern.
Die Anlage der Knickbänder wird als letzte variszische Deformation angesehen. Ihr folgten außer kleineren Abschiebungen möglicherweise noch syn- und antithetische Rotationsbewegungen einzelner Gesteinsschollen. Demnach würden sich insgesamt die Anlage der Knickbänder und die Bildung der Vergenzfächer zeitlich überschneiden.
Das Einfallen der Knickachsen und auch anderer Achsen und Lineare flach nach SW, ist wahrscheinlich durch tertiäre Bruchschollentektonik bedingt. Diese Bruchtektonik gliedert das Gebirge in Schollen mit Horsten und Gräben, so z.B. die bedeutende Grabenstruktur der Idsteiner Senke. Dabei kann der Vergenzfächer trotz vertikaler Bewegung horizontal versetzt worden sein. Seine Scheitellinie verändert zur Tiefe hin die Position ("horse structures") und tritt bei einer erodierten Hochscholle versetzt zutage.
____________________________________________________________________________________________
12. Literaturverzeichnis
AHRENDT et al. (1978): K/Ar-Altersbestimmungen an schwachmetamorphen Gesteinen des Rheinischen Schiefergebirges. - Z. dt. geol. Ges., 129: 229-247, 3 Abb., 2 Tab., 3 Taf.; Hannover.
ANDERLE, H. J. (1967): Neufassung der Spitznack-Schichten des Lorelei-Gebiets (Unter-Ems, Rheinisches Schiefergebirge). - Notizbl. Hess. L.-Amt Bodenforsch., 95: 45-63,
2 Abb., 1 Tab.; Wiesbaden.
ANDERLE, H. J. (1984): Postvaristische Bruchtektonik und Mineralisation im Taunus - Eine Übersicht. - Schr.-R. Ges. dt. Metallh. u. Bergleute, 41: 201-217, 2 Abb.; Weinheim.
ANDERLE, H. J. (1987): Entwicklung und Stand der Unterdevon-Stratigraphie im südlichen Taunus. - Geol. Jb. Hessen 115: 81-98, 1 Tab., 1 Taf.; Wiesbaden.
ANDERLE, H. J. (1991): Erl. GK 25 Hessen, Bl. 5715 Idstein, 2. Aufl., 239 S., 32 Abb., 21 Tab., 1 Taf., 1 Beibl.; Wiesbaden.
BEUSHAUSEN, L. (1895): Die Lamellibranchiaten des rheinischen Devon. - Abh. Preuss. Geol. Landesanst. 17, 518 S., 38 Taf.; Berlin.
BOSUM, W. et al (1971): Geologisch-lagerstättenkundliche und geophysikalische Untersuchungen im Siegerländer Spateisenbezirk. - Beih. geol. Jb., 90, 139 S. 41 Abb., 4 Tab., 9 Taf.; Hannover.
DAHMER, G. (1940): Die Fauna der Unterkoblenz-Schichten vom Landstein im östlichen Taunus (Blatt Grävenwiesbach). - Senckenbergiana, 22: 260-274, 18 Abb.; Frankfurt a. M.
DAHMER, G. (1954): Zwei neue Fossilfundpunkte in den Singhofener Schichten (Unter-Emsium, Unter-Devon) des östlichen Taunus (Blatt Grävenwiesbach). - Notizbl. Hess. L.-Amt Bodenforsch., 82: 38-45, 1 Abb., 1 Taf.; Wiesbaden.
DEWEY, J. F. (1965): Nature and origin of kink-bands. - Tectonophysics, 1: 459-494; Amsterdam-London-New York.
DITTMAR, U. (1996): Profilbilanzierung und Verformungsanalyse im südwestlichen Rheinischen Schiefergebirge. - Beringeria 17, 346 S. , 85 Abb., 7 Tab., 15 Taf., 1 Anlage; Würzburg.
DITTMAR, U. & ONCKEN, O. (1992): Anatomie und Kinematik eines passiven varistischen Konzinentalrandes - Zum Strukturbau des südwestlichen Rheinischen Schiefergebirges. - Frankf. geowissenschaftl. Arbeiten, A 11: 34-37, 1 Abb.; Frankfurt/M.
DUMONT, A. (1848): Mémoire sur les terrains ardennais et rhénan de l´Ardenne, du Rhin, du Brabant et du Condros. - 613 S.; Bruxelles.
EBERT, A. (1931): Bericht über die geologische Neuaufnahme von Blatt Idstein im Sommer 1931. - 6 S.; Berlin. [Archiv HLB Wiesbaden, unveröffentlicht]
EBERT, A. (1932): 2. Bericht über die geologische Aufnahme des Blattes Idstein. Sommer 1932. - 2 S.; Berlin. [Archiv HLB Wiesbaden, unveröffentlicht]
EBERT, A. (1934): 3. Bericht über die geologische Kartierung des Blattes Idstein im Sommer 1933. - 4 S., 1 Taf.; Berlin. [Archiv HLB Wiesbaden, unveröffentlicht]
EBERT, A. (1931-1934): Manuskriptblatt Idstein; Berlin. [Archiv HLB Wiesbaden, unveröffentlicht]
EBERT, A. (1935): 4. Bericht über die geologische Kartierung des Blattes Idstein im Sommer 1934. - 1 S.; Berlin. [Archiv HLB Wiesbaden, unveröffentlicht]
EBERT, A. (1961): Geol. Kt. Nordrhein Westfalen, Erl. Bl. 4616 Eversberg, 107 S., 6 Abb., 4 Tab., 10 Taf.; Krefeld.
FELIX-HENNINGSEN, P. (1990): Die mesozoisch-tertiäre Verwitterungsdecke (MTV) im Rheinischen Schiefergebirge. Aufbau, Genese und quartäre Überprägung. - Relief Boden Paläoklima, 6, 50 Abb., 27 Fotos, 53 Tab.; Berlin, Stuttgart.
FRANKE et al. (1978): Main Aspects of Geosynclinal Sedimentation in the Rhenohercynian Zone. - Z. dt. Geol. Ges. 129: 201-216, 7 fig.; Hannover.
FUCHS, A. (1923): Beiträge zur Stratigraphie und Tektonik des Rheinischen Schiefergebirges. - Jb. preuß. geol. Landesanst. f. 1922, Bd. XLIII: 339-356; Berlin.
FUCHS, A. (1929): Über tektonische Probleme im Rheinischen Schiefergebirge, besonders heterotrope Faltenstellung und präsideritische Schieferung. - Jb. preuß. geol. Landesanst. f. 1928, Bd. XLIX: 1220-1230; Berlin.
FUCHS, A. (1978): Erl. geol. Kt. Hessen 1:25 000, Bl. Oberreifenberg, 101 S., 8 Abb., 6 Tab., 2 Taf.; Wiesbaden.
GAY, N. C. & WEISS, L.E. (1974): The relationship between principal stress direction and the geometry of kinks in foliated rocks. - Tectonophysics, 21: 287-300, 7 figs.; Amsterdam.
HAMMERLINDL, K. (1990): Geologische Untersuchungen im Raum Braubach Teilbereich des SE' Randes der Moselmulde/Rheinisches Schiefergebirge (TK 5611 Koblenz, TK 5711 Boppard, TK 5712 Dachsenhausen) - Diplomarb. und Diplomkartierung Univ. Frankfurt am Main, 196 S., 14 Abb., 6 Tab., 18 Texttaf., 6 Falttaf., 25 Anhangtaf., 5 Beil.; Frankfurt am Main.
HERRMANN, F.R. (1983): Der Ringwall auf dem Nack bei Idstein-Wörsdorf, Rheingau-Taunus-Kreis. Führungsblatt zu der frühmittlalterlichen Wallanlage am Westrand der Idsteiner Senke. - Archäol. Denkmäler Hessen, 35, 5 S., 3 Abb.; Wiesbaden.
HOEPPENER, R. (1953): Faltung und Klüftung im Nordteil des Rheinischen Schiefergebirges. - Geol. Rdsch., 41: 128-144, 14 Abb.; Stuttgart.
HOEPPENER, R. (1955): Das tektonische Inventar eines Aufschlusses in den Orthocerasschiefern bei Dillenburg. - Geol. Rdsch., 44: 93-99, 6 Abb. 1 Taf.; Stuttgart.
HOEPPENER, R. (1956): Zum Problem der Bruchbildung, Schieferung und Faltung. - Geol. Rdsch., 45-2: 247-283, 28 Abb; Stuttgart.
HOEPPENER, R. (1957): Beziehungen zwischen Struktur und Bewegung des Untergrundes und der Tektonik des Deckgebirges im Gebiet der Eifel und der Moselmulde (Rheinisches Schiefergebirge). - Geol. Rdsch. 46-1: 213-220, 2 Abb.; Stuttgart.
HOEPPENER, R. & SCHWARZ, H.-U.(1980): Experimentelle Untersuchungen über Schiefergefüge und Gefüge in geschieferten Gesteinsverbänden. - N. Jb. Geol. Paläont. Abh., 160, 3: 363-379, 6 Abb.; Stuttgart.
JANKOWSKY, W. (1955): Schichtenfolge, Sedimentation und Tektonik im Unterdevon des Rheintales in der Gegend von Unkel - Remagen. - Geol. Rdsch. 44: 59 - 86, 18 Abb., 3 Taf.; Stuttgart.
KAYSER, E. (1886): Erl. geol. Spec.-Kt. Preußen u. thüring. St., Lfg 31, Bl. Idstein, 15 S.; Berlin.
KOCH, C. (1881): Ueber die Gliederung der rheinischen Unterdevon-Schichten zwischen Taunus und Westerwald. - Jb. preuß. geol. Landesanst. f. 1880, 190-242; Berlin.
KOCH, C. (1886): Geol. Spec.-Kt. Preußen u. thüring St., Lfg. 31, Bl. Idstein; Berlin.
KUBELLA, K. (1951): Zum tektonischen Werdegang des südlichen Taunus. - Abh. hess. L.-Amt Bodenforsch., 3, 81 S., 14 Abb., 2 Taf.; Wiesbaden.
LEPPLA, A. (1896): Zur Geologie des linksrheinischen Schiefergebirges. - Jb. kgl. preuß. L.-Anst. f. 1895, 74-94, Berlin.
LEPPLA, A. (1924): Erl. geol. Kt. v. Preußen u. benachb. Bundesst., Lfg. 15, Bl. Königstein, 2. Auflage, 56 S.; Berlin.
MEYER, D. E. (1970): Stratigraphie und Fazies des Paläozoikums im Guldenbachtal/SE-Hunsrück am Südrand des Rheinischen Schiefergebirges. - Diss. Univ. Bonn, 307 Abb.; Bonn.
MEYER, W. & STETS, J. (1980): Zur Paläogeographie von Unter- und Mitteldevon im westlichen und zentralen Rheinischen Schiefergebirge. - Z. dt. geol. Ges., 131: 725-751, 9 Abb.; Hannover.
MITTMEYER, H.-G. (1962): Die Hunsrückschiefer des südlichen Aartales (Rheinisches Schiefergebirge). Stratigraphie und Tektonik sowie Beiträge zur Palaeontologie und Gefügekunde der Hunsrückschiefer. - Diss. Univ. Hamburg, 76 S., 41 Abb., 3 Tab., 6 Taf.;Hamburg.
MITTMEYER, H.-G. (1965): Die Bornicher Schichten im Gebiet zwischen Mittelrhein und Idsteiner Senke (Taunus, Rheinisches Schiefergebirge). - Notizbl. Hess. L.-Amt Bodenforsch., 93: 73-98, 5 Abb., 2 Tab., 1 Taf.; Wiesbaden.
MITTMEYER, H.-G. (1973): Die Hunsrückschiefer-Fauna des Wisper-Gebietes im Taunus. - Notizbl. Hess. L.-Amt Bodenforsch., 101: 16-45, 8 Abb., 5 Taf.; Wiesbaden.
MITTMEYER, H.-G. (1978): Erl. geol. Kt. Hessen, Bl. 5813 Nastätten, 2. Aufl., 112 S., 19 Abb., 12 Tab., 1 Taf.; Wiesbaden.
MITTMEYER, H.-G. (1983): Neuerkenntnisse zur Geologie des Unterdevons. - Erl. geol. Kt. Hessen, Bl. 5616 Grävenwiesbach, 2. Aufl., 44-50, 1 Taf.; Wiesbaden.
MITTMEYER, H.-G. (1991): in: Erl. GK 25 Hessen, Bl. 5715 Idstein: 46-47; Wiesbaden.
MITTMEYER, H.-G. (1996): Geologie des Unterdevons im Südhunsrück sowie am Mittelrhein (Exkursion F1 am 11. und F2 am 12. April 1996). - Jber. Mitt. oberrhein. geol. Ver., N.F. 78: 135-154, 13 Abb., 1 Tab.; Stuttgart.
MOSEBACH, R. (1954): Zur petrographischen Kenntnis devonischer Dachschiefer. - Notizbl. Hess. L.-Amt Bodenforsch., 82: 234-246, 2 Abb., 6 Tab., 1 Taf.; Wiesbaden.
ONCKEN, O. (1988): Geometrie und Kinematik der Taunuskammüberschiebung - Beitrag zur Diskussion des Deckenproblems im südlichen Schiefergebirge. - Geol. Rdsch., 77: 551-575, 14 Abb.; Stuttgart.
ONCKEN, O. (1989): Geometrie, Deformationsmechanismen und Spannungsgeschichte großer Bewegungszonen in der höheren Kruste (Rheinisches Schiefergebirge). - Geotekt. Forsch., 73: 1-215, 89 Abb., 1 Tab.; Stuttgart.
PAECKELMANN, W. (1933): Die Grundzüge der Tektonik des östlichen Sauerlandes. Mit Beiträgen zur Stratigraphie des Mitteldevons. - Jb. preuß. geol. Landesanst., 54: 217-260, 6 Abb., 4 Taf.; Berlin.
SANDBERGER, F. v. (1889): Entwicklung der unteren Abtheilung des devonischen Systems in Nassau, verglichen mit jener in anderen Ländern. Nebst einem paläontologischen Anhang. 107 S., 5 Taf.; Wiesbaden.
SAUERLAND, V. (1980): Tektonische Entwicklung des westlichen Taunus zwischen Taunus-Kammüberschiebung und Lahn-Mulde. - Diss. Univ. Göttingen, 94 S., 52 Abb., 4 Taf.; Göttingen.
SCHLOSSMACHER, K. (1983): Erl. geol. Kt. Hessen, Bl.5616 Grävenwiesbach, 2. Aufl., 94 S., 5 Abb., 5 Tab., 1 Taf.; Wiesbaden.
SCHLÜTER, H. (1928): Das Mitteldevon im oberen Diemelgebiete und der geologische Bau des Martenberges bei Adorf. - Jb. preuß. geol. Landesanst. f. 1927, Bd. XLVIII: 175-214, 14 Abb., 1 Taf.; Berlin.
SCHNEIDER, A. (1886): Mineralgänge und andere nutzbare Lagerstätten. - Erl. geol. Spec.- Kt. Preußen u. thüring. St., Lfg 31, Bl. Idstein, 12-14; Berlin.
SCHNEIDER, J. et al. (1997): Rb/Sr - Datierung silifizierter Nebengesteine des mächtigen hydrothermalen Quarzganges von Usingen, Taunus (SE Rheinisches Schiefergebirge). - Ber. d. Dt. Miner. Ges., Beih. z. Eur. J. Mineral. Vol. 9, No. 1: 317; Stuttgart.
SIMPSON, S. (1940): Das Devon der Südost-Eifel zwischen Nette und Alf. - Abh. senckenberg. naturf. Ges., 447: 1-81, 3 Abb., 10 Tab., 8 Taf.; Frankfurt a.M.
SOLLE, G. (1950): Obere Siegener Schichten, Hunsrückschiefer, tiefstes Unterkoblenz und ihre Eingliederung ins Rheinische Unterdevon. - Geol. Jahrb., 65: 299-380, 2 Abb., 3 Tab.; Hannover/Celle.
SOLLE, G. (1970): Die Hunsrück-Insel im oberen Unterdevon. - Notizbl. hess. L.-Amt Bodenforsch., 98: 50-80, 1 Abb., 1 Taf.; Wiesbaden.
STENGEL-RUTKOWSKI, W. (1976): Idsteiner Senke und Limburger Becken im Licht neuer Bohrergebnisse und Aufschlüsse (Rheinisches Schiefergebirge). - Geol. Jb. Hessen, 104: 183-224; 9 Abb., 2 Tab.; Wiesbaden.
STIFFT, C. E. (1831): Geognostische Beschreibung des Herzogthums Nassau, in besonderer Beziehung auf die Mineralquellen dieses Landes. - 606 S., 1 Kt., 1 Prof.; Wiesbaden (Schellenberg).
VERBEEK, E.R. (1978): Kink bands in the Somport slates, west-central Pyrenees, France and Spain. - Geol. Soc. Am. Bull., 89: 814-824, 19 figs.; Boulder, Colorado.
WEBER, K. (1978): Das Bewegungsbild im Rhenoherzynikum - Abbild einer varistischen Subfluenz. - Z. dt. geol. Ges., 129: 249-281, 12 Abb.; Hannover.
WEBER, K. (1980): Anzeichen abnormal hoher Porenlösungsdrucke am Beginn der Faltung im Rheinischen Schiefergebirge. - Z. dt. geol. Ges., 131: 605-625 , 5 Abb., 3 Taf.; Stuttgart.
WEBER, K. (1986): The Mid-European Variscides in Terms of Allochthonous Terrains. - In: FREEMAN, R. et al.: Proceedings of the Third Workshop on the European Geotraverse (EGT) Project: The Central Segment, 73-82; Strasbourg (Europ. Sci. Found).
WEBER, K. & BEHR, H.-J. (1983): Geodynamic Interpretation of the Mid-European Variscides. - In: MARTIN, H. & EDER, F.W. (eds.): Intracontinental Fold Belts: 427-469; Berlin.
WEISS, L.E. (1980): Nucleation and growth of kink bands. - Tectonophysics, 65: 1-38, 23 figs.; Amsterdam.
WERNER, R. (1977): Geomorphologische Kartierung 1:25 000 erläutert am Beispiel des Blattes 5816 Königstein im Taunus. - Rhein-Main. Forsch., 86, 164 S., 18 Abb. 1 Kt.; Frankfurt a. M.
WUNDERLICH, H.G. (1964): Maß, Ablauf und Ursachen orogener Einengung am Beispiel des Rheinischen Schiefergebirges, Ruhrkarbons und Harzes. - Geol. Rdsch., 54, 2: 861-882, 5 Abb.; Stuttgart.
info@clemensbecker.de
|